Yamaha YFM4FAHS (KODIAK 400 HUNTER EDITION) 5TEA 2004 SHIFT SHAFT Diagram
#
Description
Price
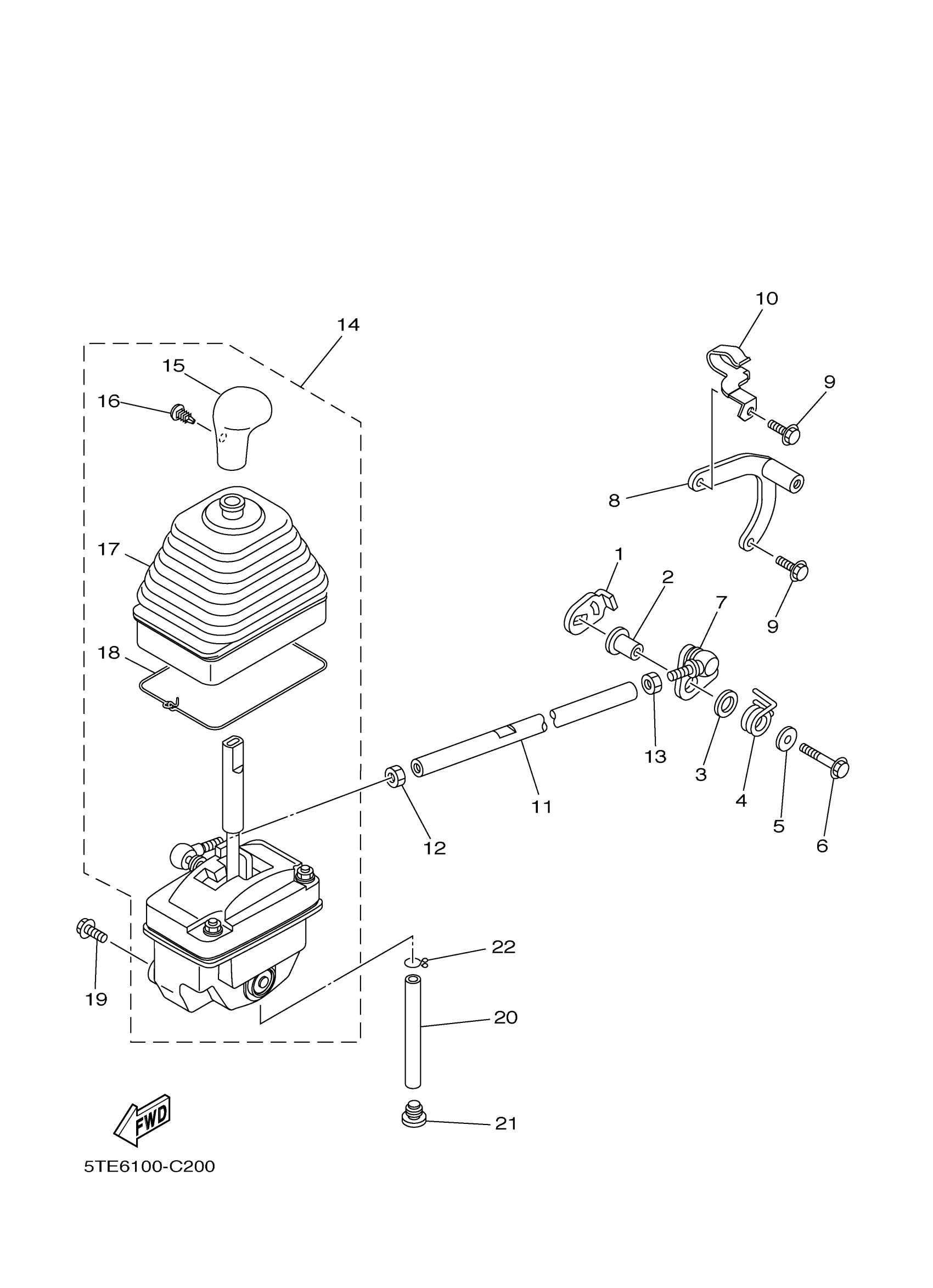
4
SPRING, TORSION
90508-35012-00
Unavailable
5
WASHER, PLATE
90201-06M02-00
Unavailable
7
LEVER
5TE-18191-00-00
Unavailable
8
BRACKET
5TE-18128-00-00
Unavailable
11
ROD, SHIFT
5TE-18115-00-00
Unavailable
15
KNOB, SHIFT LEVER
5TE-18174-00-00
Unavailable
16
RIVET(81E)
90269-05055-00
Unavailable
17
BOOTS, SEALING
5GH-18131-00-00
Unavailable
18
STOPPER, RUBBER
5GH-18617-00-00
Unavailable
19
BOLT, FLANGE(8AB)
95817-08020-00
Unavailable
20
HOSE
90446-16001-00
Unavailable
21
PLUG, DRAIN
5UH-E4191-00-00
Unavailable
22
CLIP (806-24358-00)
90467-15012-00
Unavailable
