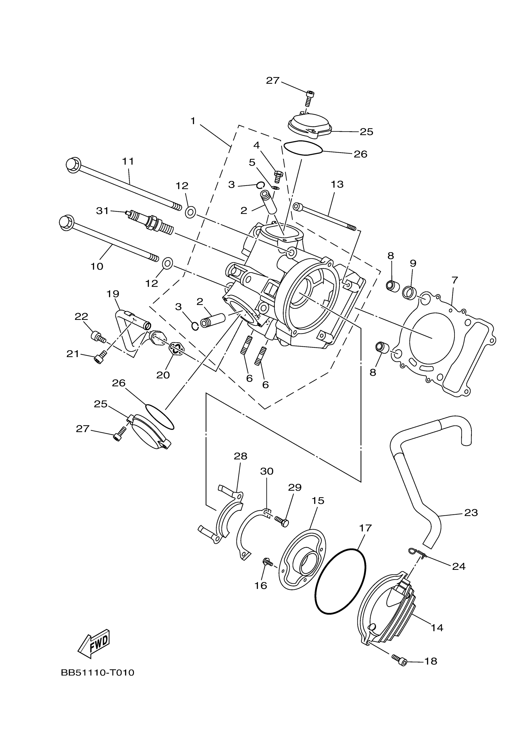
Yamaha YFM45KDXSL (KODIAK 450) D294 2025 CYLINDER HEAD Diagram
#
Description
Price
1
CYLINDER HEAD ASSY
BB5-11101-09-00
Unavailable
14
BREATHER ASSY
4WU-11160-01-00
Unavailable
15
PLATE, BREATHER
4KB-11165-00-00
Unavailable
16
BOLT, FLANGE
95022-06012-00
Unavailable
17
O-RING (15A)
93211-06635-00
Unavailable
18
BOLT,SOCKET
91317-06025-00
Unavailable
19
PIPE 1
BB5-14871-00-00
Unavailable
20
GASKET
5XT-14815-10-00
Unavailable
21
BOLT,SOCKET
91317-06012-00
Unavailable
22
BOLT,SOCKET
91317-06016-00
Unavailable
23
PIPE, BREATHER 1
BB5-E1166-00-00
Unavailable
24
CLIP
90467-140A4-00
Unavailable
25
COVER, CYLINDER HEAD SIDE 2
2NL-11186-12-00
Unavailable
26
O-RING
93210-57634-00
Unavailable
27
BOLT,SOCKET HEAD
91314-06020-00
Unavailable
28
PLATE
5GH-1111F-00-00
Unavailable
29
BOLT (661)
97013-06012-00
Unavailable
30
WASHER, LOCK
90215-06003-00
Unavailable
31
DR7EA NGK SPLUG 10PK
DR7-EA000-00-00
Unavailable
