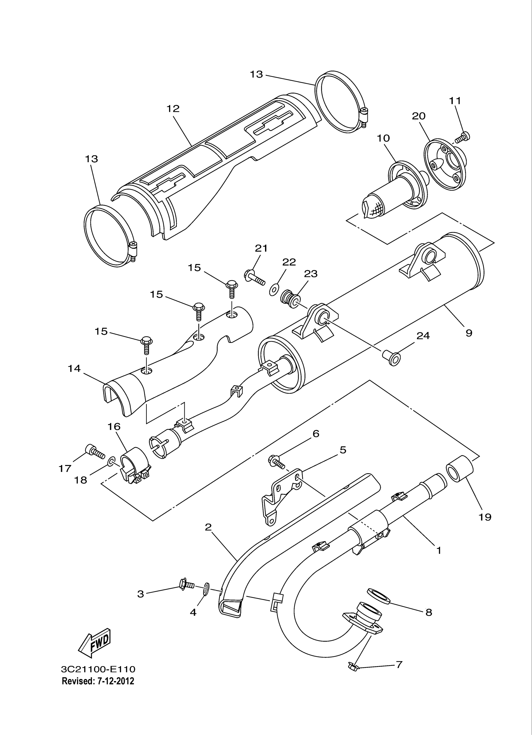
Yamaha YFM45FXZW (WOLVERINE 450 4WD) 3C2K 2010 EXHAUST Diagram
#
Description
Price
1
PIPE, EXHAUST 1
5ND-E4611-00-00
Unavailable
4
WASHER, PLATE
90201-06M02-00
Unavailable
9
MUFFLER 1
5ND-E4711-00-00
Unavailable
10
PIPE, OUTLET
3C2-E4752-00-00
Unavailable
12
PROTECTOR, MUFFLER 1
5ND-E4718-00-00
Unavailable
13
BAND, SILENCER
5ND-E4788-00-00
Unavailable
16
BAND, MUFFLER
5ND-E4715-00-00
Unavailable
17
BOLT
5ND-E4777-00-00
Unavailable
18
WASHER
5ND-E4759-00-00
Unavailable
19
GASKET, MUFFLER
3YF-14714-00-00
Unavailable
20
CAP, SILENCER
3C2-E4787-00-00
Unavailable
21
BOLT, FLANGE
95814-10040-00
Unavailable
22
WASHER, PLATE
90201-10056-00
Unavailable
23
DAMPER, MUFFLER
5ND-E4737-00-00
Unavailable
24
COLLAR (2H7)
90387-10636-00
Unavailable
