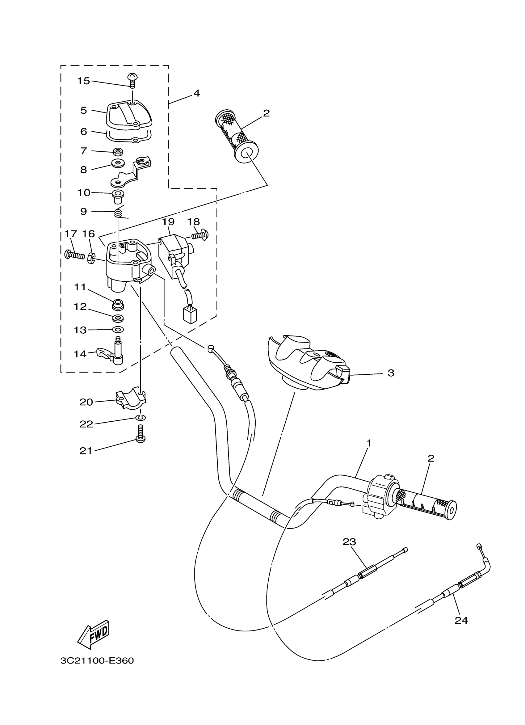
Yamaha YFM45FXXL (WOLVERINE 450 4WD) 3C2A0 2008 STEERING HANDLE CABLE Diagram
#
Description
Price
1
HANDLE BAR
3C2-F6111-00-00
Unavailable
8
. WASHER, SPECIAL
53L-83909-00-00
Unavailable
14
LEVER, THROTTLE
1NV-2625G-02-00
Unavailable
16
NUT, HEXAGON SMALL
95317-05700-00
Unavailable
17
SCREW, PAN HEAD
98517-05020-00
Unavailable
18
. SCREW, WITH WASHER
97607-04210-00
Unavailable
19
SWITCH, HANDLE 1
1P1-83976-00-00
Unavailable
20
HOLDER, LEVER LOWER
4V4-82913-00-00
Unavailable
21
SCREW, PAN HEAD
98517-05020-00
Unavailable
22
WASHER, PLAIN (646)
92990-05600-00
Unavailable
23
CABLE, THROTTLE 1
5GH-26311-11-00
Unavailable
24
CABLE, STARTER 1
3C2-F6331-00-00
Unavailable
