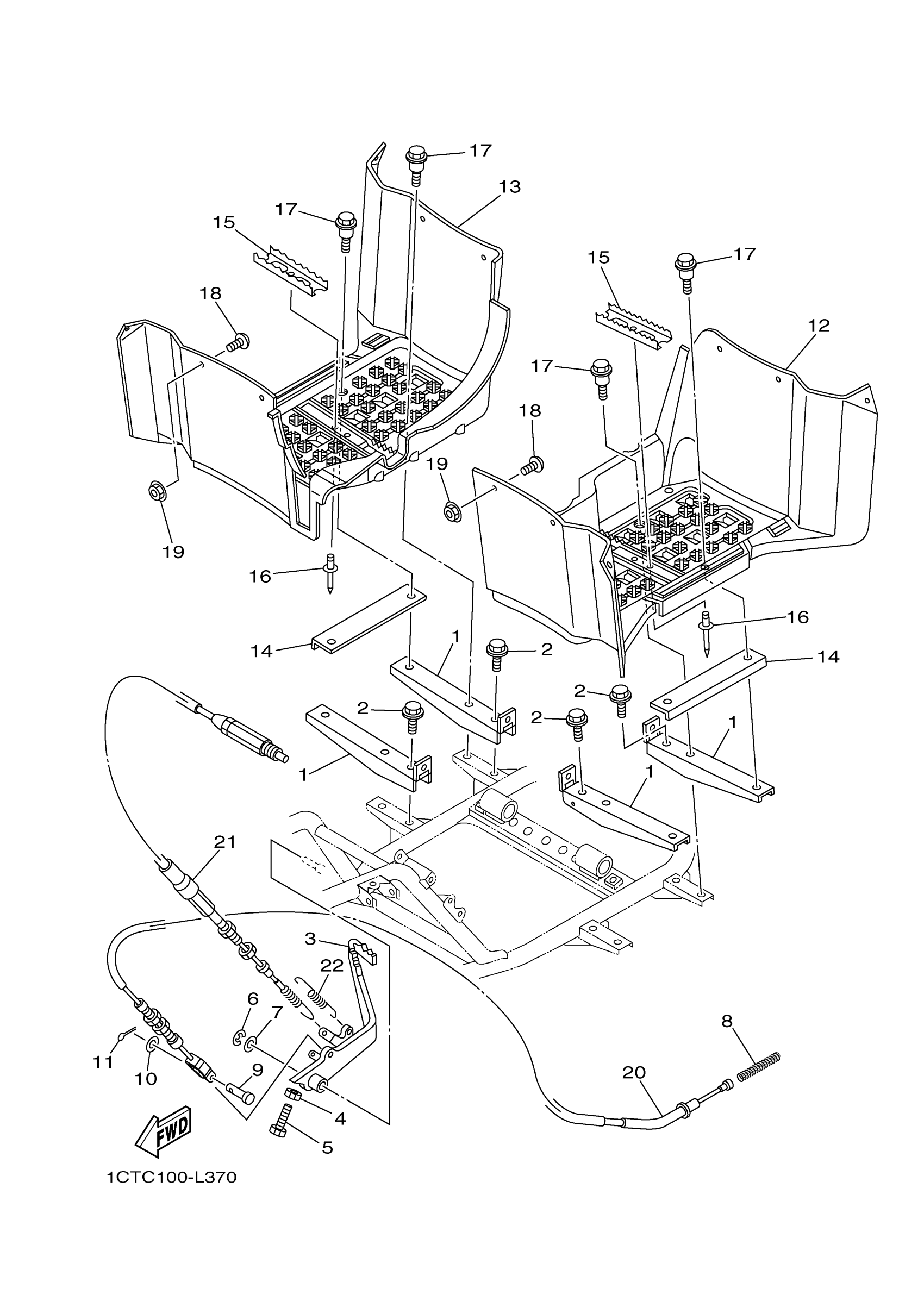
Yamaha YFM45FGPBL (GRIZZLY 450 EPS 4WD) 1CTJ 2012 STAND FOOTREST Diagram
#
Description
Price
13
COVER 2 (FOOTREST CVR RH SIDE)
5ND-F7463-01-00
Unavailable
16
RIVET, BLIND(EU0,USA)
90267-489U9-00
Unavailable
17
BOLT
90109-06262-00
Unavailable
18
SCREW
90149-05034-00
Unavailable
19
NUT, S/L FLANGE
95607-05200-00
Unavailable
20
CABLE, BRAKE
1CT-F6361-00-00
Unavailable
21
CABLE, CONTROL 2
5GH-2637F-11-00
Unavailable
22
SPRING, TENSION
90506-20010-00
Unavailable
