Yamaha YFM45FGPAL (GRIZZLY 450 EPS 4WD) 1CT8 2011 FRAME Diagram
#
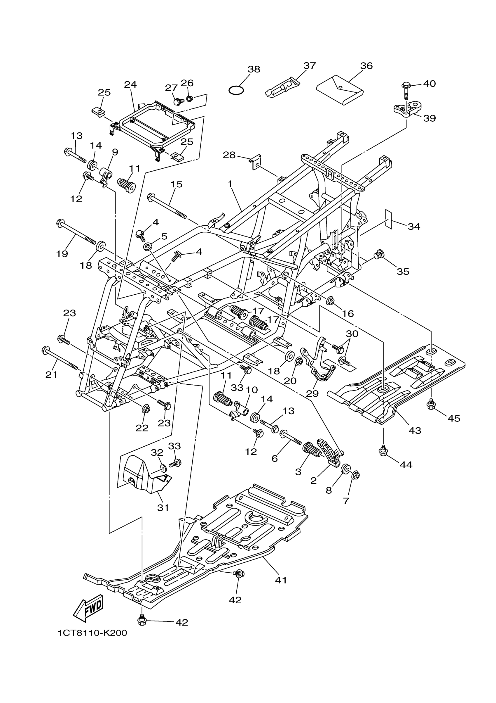
1
FRAME COMP.
1CT-F1110-00-00
Unavailable
2
STAY, ENGINE 2
5ND-F1315-01-00
Unavailable
3
DAMPER, ENGINE MOUNT 3
5ND-E5336-00-00
Unavailable
11
DAMPER, ENGINE MOUNT 3
5ND-E5336-00-00
Unavailable
17
DAMPER, ENGINE MOUNT 3
5ND-E5336-00-00
Unavailable
18
DAMPER
5ND-F1488-00-00
Unavailable
21
BOLT, FLANGE
90105-10230-00
Unavailable
22
NUT, SELF-LOCKING
90185-10011-00
Unavailable
23
BOLT, FLANGE(3GD)
95817-10025-00
Unavailable
24
STAY, FENDER 1
5ND-F1513-00-00
Unavailable
25
NUT, SPRING(4ES)
90183-06069-00
Unavailable
26
COLLAR (8G8)
90387-06681-00
Unavailable
27
BOLT, FLANGE
95817-06012-00
Unavailable
28
STAY, MUFFLER 2
5ND-F1446-01-00
Unavailable
29
ARM
5ND-F1585-01-00
Unavailable
30
BOLT, FLANGE(8AB)
95817-08020-00
Unavailable
31
PROTECTOR 1
1CT-F2825-00-00
Unavailable
32
WASHER, PLATE
90201-06078-00
Unavailable
33
BOLT, FLANGE
95817-06012-00
Unavailable
34
LABEL 7
37S-F151K-00-00
Unavailable
35
CAP
1CT-F8349-00-00
Unavailable
36
TOOL KIT
5ND-F8100-00-00
Unavailable
37
GAUGE, AIR
1NV-2811A-01-00
Unavailable
38
O-RING (583 OIL CLEANER)
93210-64297-00
Unavailable
39
HOOK
1D9-F8488-01-00
Unavailable
40
BOLT, FLANGE
95814-10040-00
Unavailable
41
GUARD, ENGINE 1
5ND-F147A-03-00
Unavailable
42
BOLT
90109-06172-00
Unavailable
43
GUARD COMP.
1CT-F840K-10-00
Unavailable
44
BOLT
90109-06172-00
Unavailable
45
BOLT
90109-06202-00
Unavailable
