Partiron

Yamaha YFM450FAR (KODIAK 450 4WD) 5ND1 2003 STARTING MOTOR Diagram

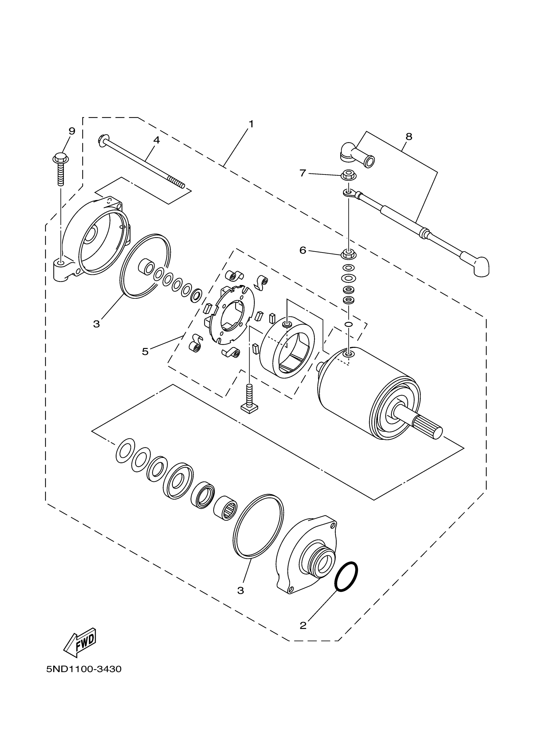
#

Description
Price

1

MOTOR ASSY

5KM-81890-00-00

$218.99

2

O-RING (437)

93210-24235-00

$7.49

3

GASKET

35C-81844-00-00

Unavailable

4

BOLT

3AJ-81826-00-00

$25.99

5

BRUSH SET

3AJ-81801-00-00

$116.99

6

NUT

4XV-8182A-00-00

$7.99

7

NUT

4XV-8182A-00-00

$7.99

8

CORD, STARTER MOTOR

5ND-H1815-00-00

Unavailable

9

BOLT, SMALL FLANGE

95027-06030-00

$3.98