Yamaha YFM450DER (GRIZZLY 450) 1CUK1 2014 STEERING HANDLE CABLE Diagram
#
Description
Price
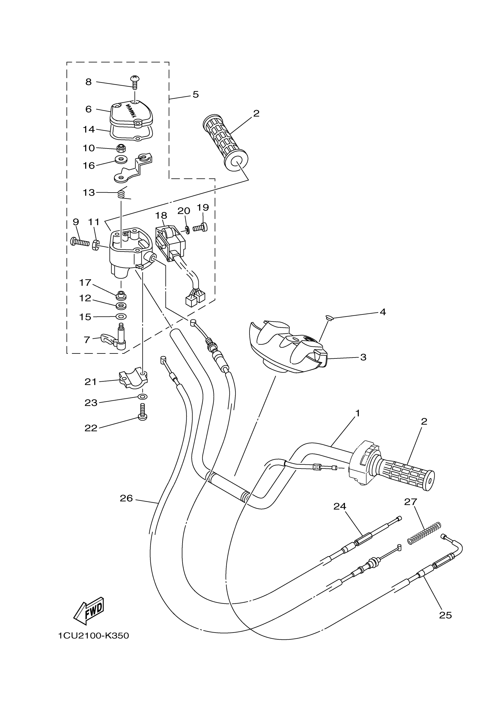
4
PLUG
90338-14827-00
Unavailable
7
LEVER, THROTTLE
1NV-2625G-02-00
Unavailable
16
. WASHER, SPECIAL
53L-83909-00-00
Unavailable
17
COLLAR
1NV-2625K-00-00
Unavailable
18
SWITCH, HANDLE 1
5KM-83976-23-00
Unavailable
19
SCREW, PAN HEAD(GA5)
98580-04014-00
Unavailable
20
WASHER, PLAIN (646)
92990-04600-00
Unavailable
21
HOLDER, LEVER LOWER 1
1S3-82913-00-00
Unavailable
23
WASHER, PLAIN (646)
92990-05600-00
Unavailable
24
CABLE, THROTTLE 1
5GH-26311-11-00
Unavailable
25
CABLE,STARTER 1
5VH-F6331-01-00
Unavailable
26
WIRE, BRAKE 1
1CT-F6341-00-00
Unavailable
27
SPRING, COMPRESSION (29U)
90501-10782-00
Unavailable
