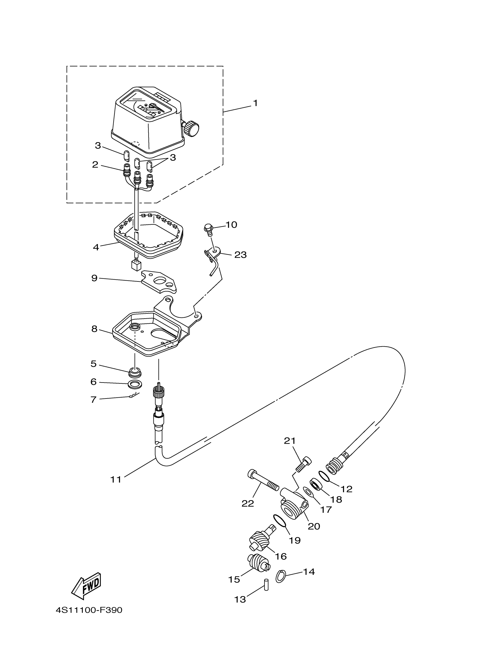
Yamaha YFM40FBXR (BIG BEAR 400 4WD) 4S151 2008 METER Diagram
#
Description
Price
2
SOCKET, METER
4S1-83536-00-00
Unavailable
4
DAMPER
5Y0-83513-00-00
Unavailable
8
BRACKET, METER
4S1-83519-00-00
Unavailable
9
DAMPER
4S1-H3513-00-00
Unavailable
14
CIRCLIP(59V)
93440-14155-00
Unavailable
15
GEAR, DRIVE
59V-17831-00-00
Unavailable
16
GEAR, DRIVEN
59V-17841-00-00
Unavailable
17
WASHER (692)
90201-12M34-00
Unavailable
18
OIL SEAL (30X)
93102-08307-00
Unavailable
19
O-RING(59V)
93210-24253-00
Unavailable
20
HOUSING, TACHOMETER GEAR
4KB-17811-00-00
Unavailable
21
SCREW, PAN HEAD
98580-06016-00
Unavailable
22
SCREW, PAN HEAD
98502-06030-00
Unavailable
23
GUIDE, CABLE
5FU-F6279-10-00
Unavailable
