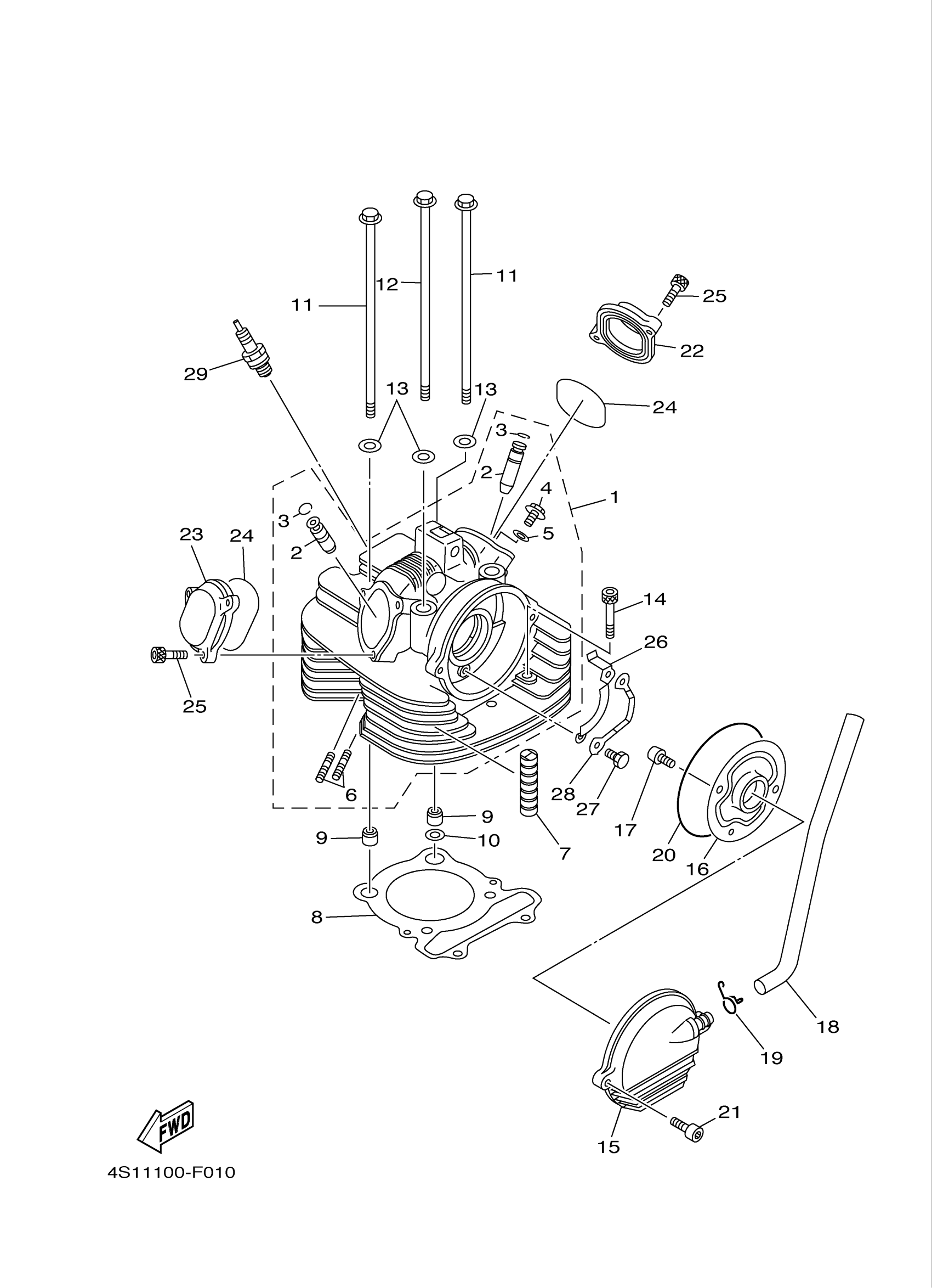
Yamaha YFM40FBAL (BIG BEAR 400 4WD) 4S1H0 2011 CYLINDER HEAD Diagram
#
Description
Price
1
CYLINDER HEAD ASSY
5YT-11101-20-00
Unavailable
6
BOLT, STUD
90116-06041-00
Unavailable
12
BOLT, FLANGE
90105-10261-00
Unavailable
15
BREATHER ASSY
4WU-11160-01-00
Unavailable
16
PLATE, BREATHER
4KB-11165-00-00
Unavailable
17
BOLT, FLANGE
95022-06012-00
Unavailable
18
PIPE, BREATHER 1
5FU-E1166-00-00
Unavailable
19
CLIP
90467-140A4-00
Unavailable
20
O-RING (15A)
93211-06635-00
Unavailable
21
BOLT,SOCKET
91317-06025-00
Unavailable
22
COVER, CYLINDER HEAD SIDE 2
2NL-11186-12-00
Unavailable
23
COVER, CYLINDER HEAD SIDE 3
2NL-11187-11-00
Unavailable
24
O-RING
93210-57634-00
Unavailable
25
BOLT,SOCKET HEAD
91314-06020-00
Unavailable
26
PLATE
3Y1-1111F-00-00
Unavailable
27
BOLT (661)
97013-06012-00
Unavailable
28
WASHER, LOCK (3Y1)
90215-06162-00
Unavailable
29
DR8EA NGK SPLUG 10PK
DR8-EA000-00-00
Unavailable
