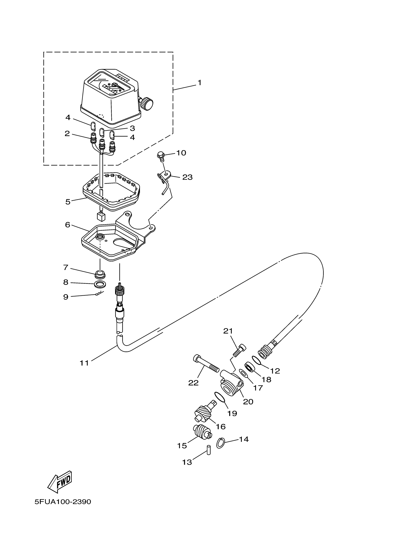
Yamaha YFM400NR (BIG BEAR 400 2WD) 5GW9 2003 METER Diagram
#
Description
Price
1
SPEEDOMETER ASSY
4SH-83570-01-00
Unavailable
2
SOCKET, METER
4SH-83536-00-00
Unavailable
3
BULB, MTR.12V3.4W
4G1-84744-00-XX
Unavailable
5
DAMPER
5Y0-83513-00-00
Unavailable
6
BRACKET, METER
4GB-83519-00-00
Unavailable
14
CIRCLIP(59V)
93440-14155-00
Unavailable
15
GEAR, DRIVE
59V-17831-00-00
Unavailable
16
GEAR, DRIVEN
59V-17841-00-00
Unavailable
17
WASHER (692)
90201-12M34-00
Unavailable
18
OIL SEAL (30X)
93102-08307-00
Unavailable
19
O-RING(59V)
93210-24253-00
Unavailable
20
HOUSING, TACHOMETER GEAR
4KB-17811-00-00
Unavailable
21
SCREW, PAN HEAD(3TJ)
98507-06016-00
Unavailable
22
SCREW, PAN
98517-06030-00
Unavailable
23
GUIDE, CABLE
5FU-F6279-10-00
Unavailable
