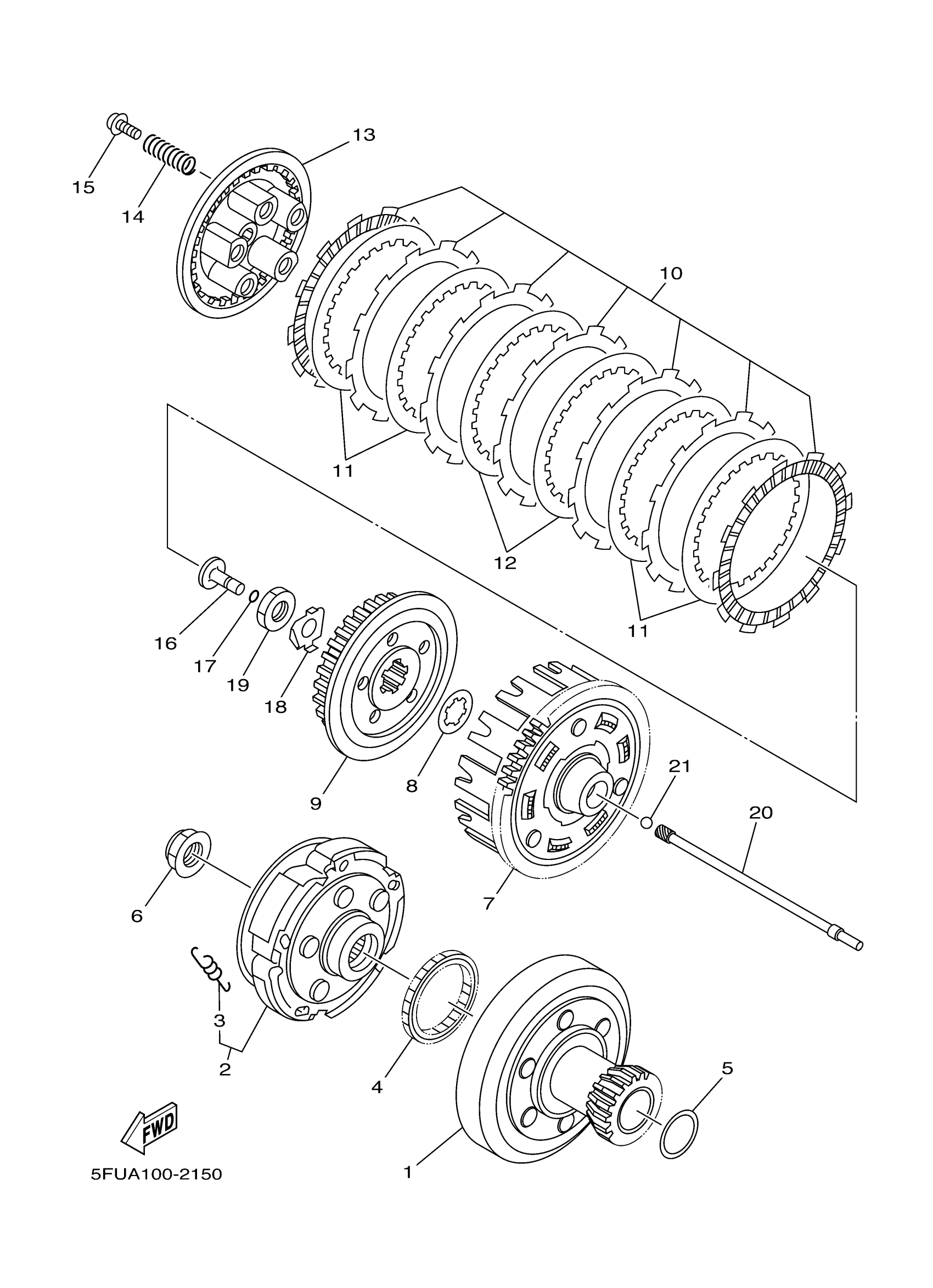
Yamaha YFM400NR (BIG BEAR 400 2WD) 5GW9 2003 CLUTCH Diagram
#
Description
Price
1
CLUTCH HOUSING COMP.
5FU-16611-10-00
Unavailable
2
CLUTCH CARRIER ASSY
5EH-16620-00-00
Unavailable
3
SPRING, CLUTCH WEIGHT 1
5EH-16626-00-00
Unavailable
7
PRIMARY DRIVEN GEAR COMP.
4KB-16150-00-00
Unavailable
9
BOSS, CLUTCH
55V-16371-00-00
Unavailable
16
ROD, PUSH 1
4KB-16356-00-00
Unavailable
17
O-RING (26H)
93210-06632-00
Unavailable
18
WASHER, LOCK(4KB)
90215-16289-00
Unavailable
19
NUT, HEXAGON (30X)
90170-16326-00
Unavailable
20
ROD, PUSH 2
4KB-16357-00-00
Unavailable
21
BALL (498)
93511-32027-00
Unavailable
