Partiron

Yamaha YFM400FWK (KODIAK 4WD) 4SHB 1998 METER Diagram

#

Description
Price

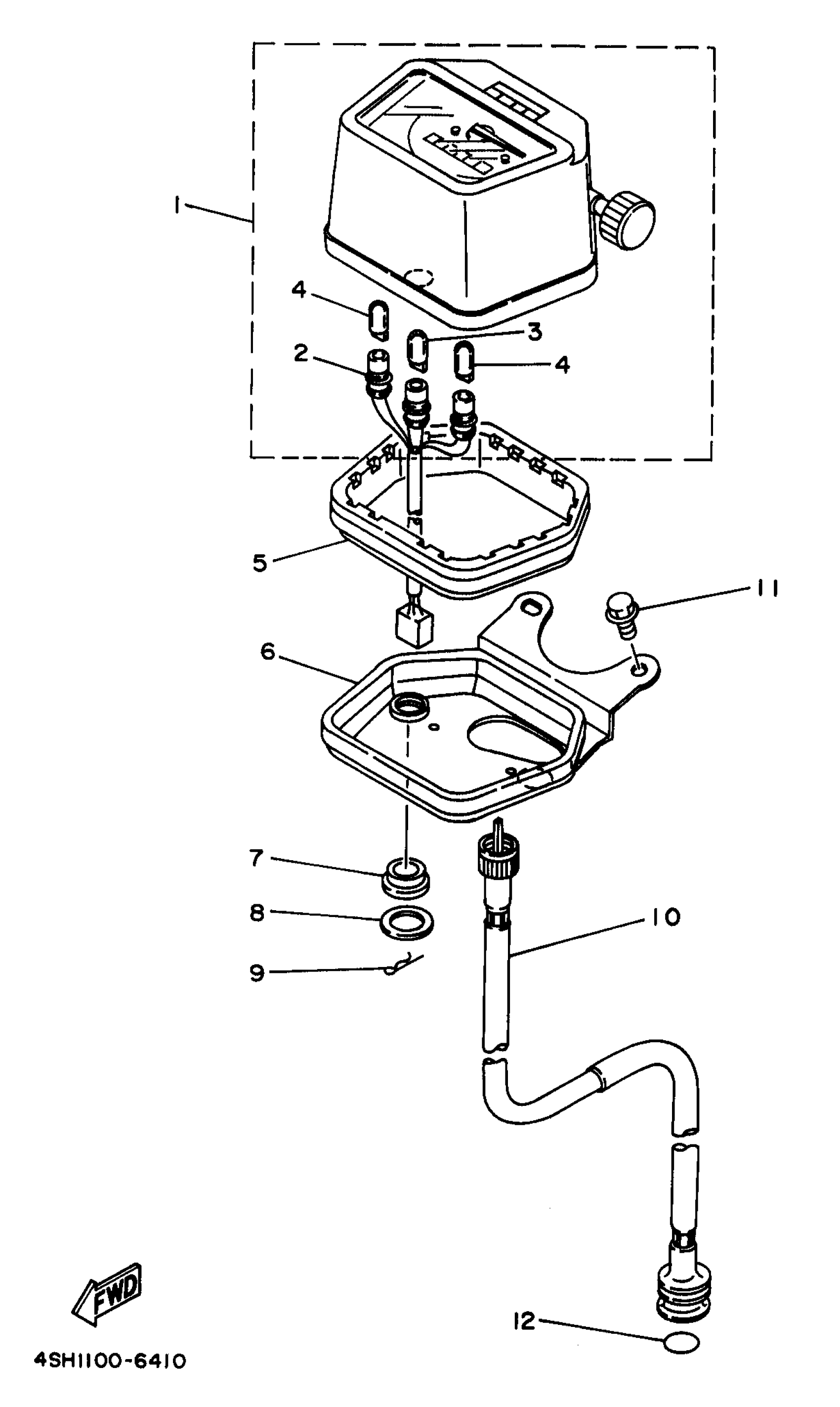
1

SPEEDOMETER ASSY

4SH-83570-01-00

Unavailable

2

SOCKET, METER

4SH-83536-00-00

Unavailable

3

BULB, MTR.12V3.4W

4G1-84744-00-XX

Unavailable

4

BULB (12V-1.7W)

3GM-83517-00-00

$7.99

5

DAMPER

5Y0-83513-00-00

Unavailable

6

BRACKET, METER

4GB-83519-00-00

Unavailable

7

DAMPER 2

1M1-83526-01-00

$4.47

8

WASHER, SPECIAL

4X8-83524-00-00

$7.99

9

CLIP (156-83525-00)

90468-10050-00

$3.05

10

SPEEDOMETER CABLE ASSY

4SH-83550-01-00

Unavailable

11

BOLT, FLANGE

95817-06010-00

$4.73

12

O-RING (26H)

93210-14579-00

$7.49