Yamaha YFM400FWK (KODIAK 4WD) 4SHB 1998 EXHAUST Diagram
#
Description
Price
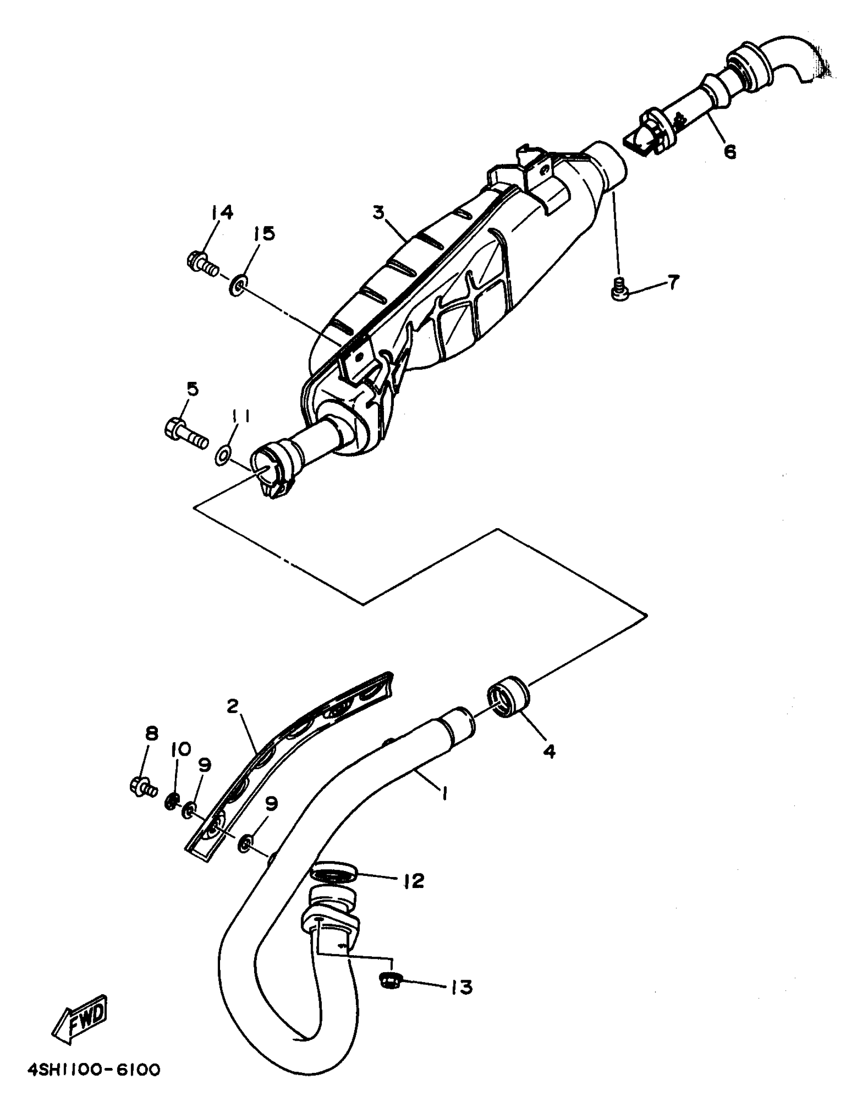
1
PIPE, EXHAUST 1
4GB-14611-04-00
Unavailable
2
PROTECTOR, EXHAUST PIPE
1YW-14628-00-00
Unavailable
#
1
4GB-14611-04-00
Unavailable
2
1YW-14628-00-00
Unavailable
Edit ride
