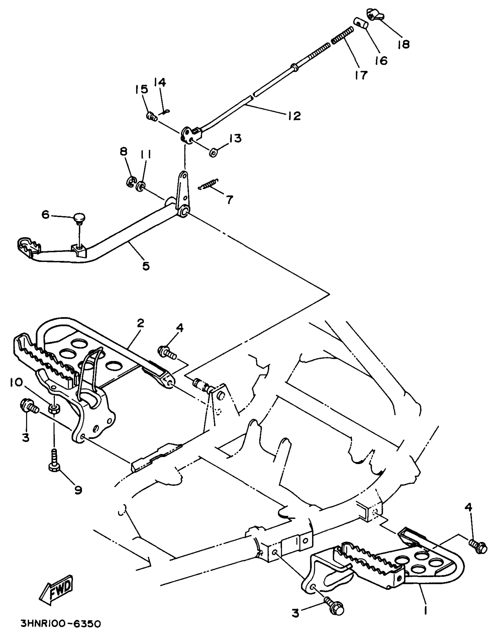
Yamaha YFM400FWH (KODIAK 4WD) 4SH1 1996 STAND - FOOTREST Diagram
#
Description
Price
1
FOOTREST 1
3HN-27411-20-00
Unavailable
2
FOOTREST 2
3HN-27421-20-00
Unavailable
5
PEDAL, BRAKE
4GB-27211-00-00
Unavailable
16
PIN 1562723700
90249-12008-00
Unavailable
17
SPRING, (180-27236-00)
90501-10245-00
Unavailable
18
NUT, AJUSTING
20E-26343-00-00
Unavailable
