Yamaha YFM400FWH (KODIAK 4WD) 4SH1 1996 CRANKSHAFT - PISTON Diagram
#
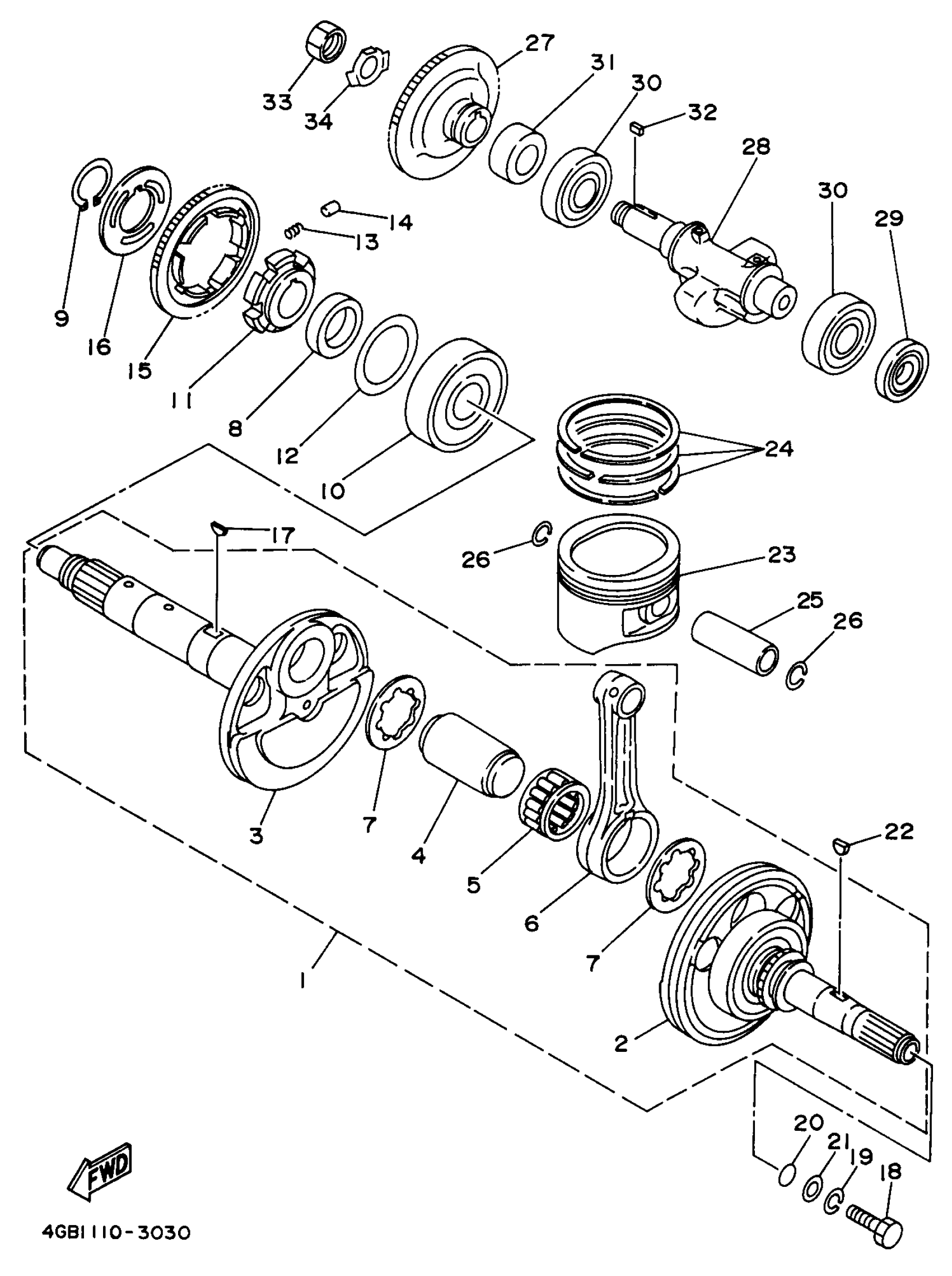
1
CRANKSHAFT ASSEMBLY
4GB-11400-00-00
Unavailable
2
CRANK 1
4GB-W1141-00-00
Unavailable
3
. CRANK 2
4GB-11422-00-00
Unavailable
4
PIN, CRANK 1
30X-11681-00-00
Unavailable
6
ROD, CONNECTING
4GB-11651-00-00
Unavailable
8
COLLAR
90387-3001E-00
Unavailable
11
BOSS, BUFFER
4GB-11496-00-00
Unavailable
12
WASHER, PLATE (21V)
90201-406F4-00
Unavailable
13
SPRING, COMPRESSION (5Y1)
90501-22721-00
Unavailable
16
WASHER, BEARING COVER
4GB-11565-00-00
Unavailable
17
KEY, WOODRUFF
90280-05001-00
Unavailable
18
BOLT (21V)
90101-10568-00
Unavailable
19
WASHER(6TA)
92907-10100-00
Unavailable
20
O-RING (538)
93210-16290-00
Unavailable
21
WASHER, PLATE
90201-10058-00
Unavailable
22
KEY, WOODRUFF
90280-05001-00
Unavailable
23
PISTON (STD)
4GB-11631-00-Y0
Unavailable
23
PISTON (0.50MM O/S)
4GB-11636-00-00
Unavailable
23
PISTON (1.00MM O/S)
4GB-11638-00-00
Unavailable
24
PISTON RING SET (STD)
4GB-11610-00-00
Unavailable
24
PISTON RING SET (0.50MM O/S)
4GB-11610-20-00
Unavailable
24
PISTON RING SET (1.00MM O/S)
4GB-11610-40-00
Unavailable
25
PIN, PISTON
51Y-11633-00-00
Unavailable
26
CIRCLIP (26H)
93450-19095-00
Unavailable
27
GEAR, DRIVE
1UY-11536-01-00
Unavailable
28
WEIGHT 1
1YW-11454-00-00
Unavailable
29
OIL SEAL (5Y1)
93101-25106-00
Unavailable
30
BRG,R-B 6205C4 52MM 130G KY
93306-20529-00
Unavailable
31
COLLAR
90387-201R7-00
Unavailable
32
KEY, STRAIGHT (3L5)
90282-05034-00
Unavailable
33
NUT, HEXAGON (30X)
90170-16326-00
Unavailable
34
WASHER, LOCK(2NL)
90215-16270-00
Unavailable
