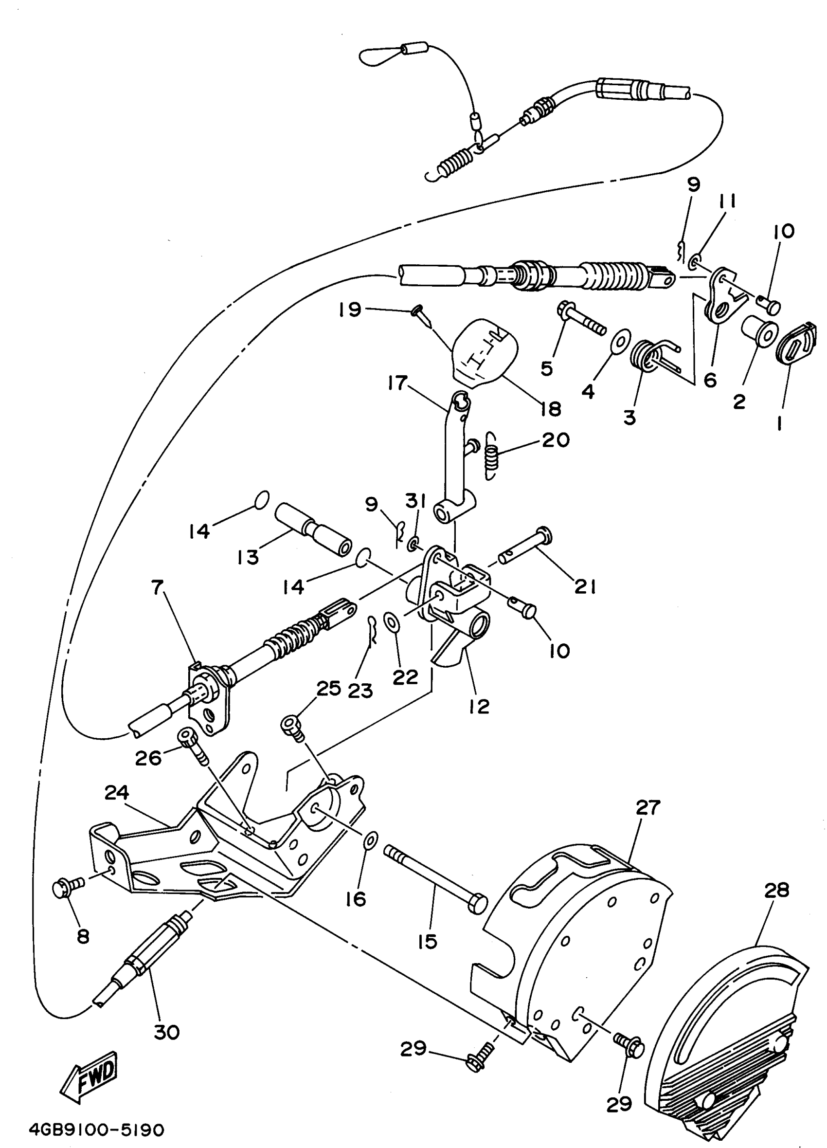
Yamaha YFM400FWG_MNH (KODIAK 4WD) 4SH1 1995 SHIFTER Diagram
#
Description
Price
4
WASHER, PLATE
90201-06M02-00
Unavailable
6
LEVER
1YW-18191-00-00
Unavailable
7
WIRE, CONTROL 1
4GB-2637E-00-00
Unavailable
10
PIN
91701-06016-00
Unavailable
12
SHAFT, RINK
4GB-18341-00-00
Unavailable
13
COLLAR
90387-063W2-00
Unavailable
16
WASHER, PLAIN (646)
92990-06600-00
Unavailable
17
SHIFT LEVER ASSY
4GB-18150-00-00
Unavailable
18
KNOB, SHIFT LEVER
3JN-18174-00-00
Unavailable
19
RIVET(81E)
90269-05055-00
Unavailable
20
SPRING, TENSION(3JN)
90506-16451-00
Unavailable
21
PIN, CLEVIS (565)
91701-08042-00
Unavailable
22
WASHER, PLAIN
92990-08200-00
Unavailable
23
CLIP 136253750000
90468-12006-00
Unavailable
24
BRACKET, SHIFTER
4GB-18431-01-00
Unavailable
25
BOLT, FLANGE
95817-06016-00
Unavailable
26
BOLT, FLANGE
95817-06030-00
Unavailable
27
BRACKET
4SH-18128-01-00
Unavailable
28
COVER, SHIFT SHAFT
3JN-18129-00-00
Unavailable
29
BOLT, FLANGE
95817-06012-00
Unavailable
30
WIRE, CONTROL 2
4GB-2637F-00-00
Unavailable
31
WASHER, PLATE(3SX)
90201-062P7-00
Unavailable
