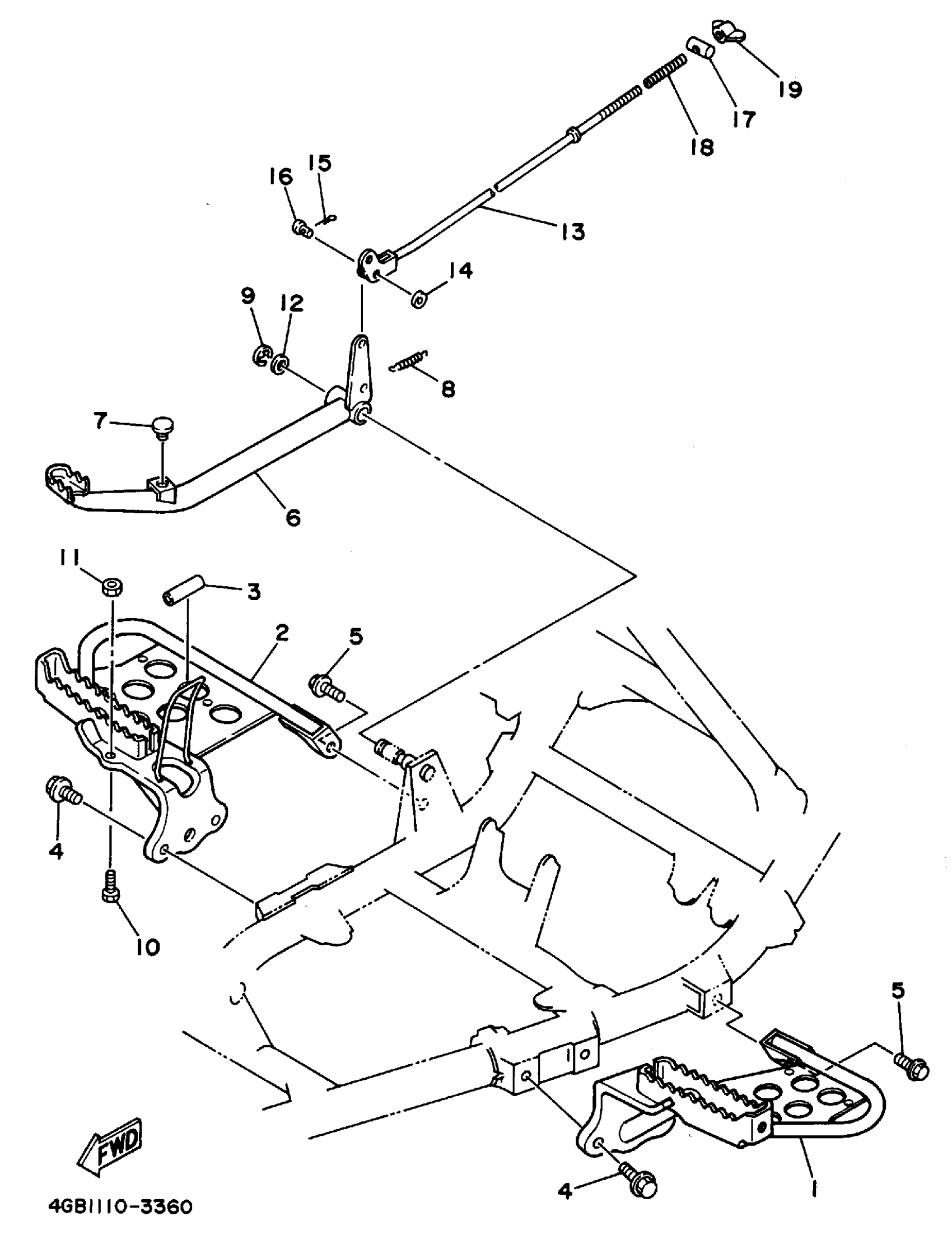
Yamaha YFM400FWF (KODIAK 4WD) 4GB5 1994 STAND - FOOTREST Diagram
#
Description
Price
1
FOOTREST 1
3HN-27411-20-00
Unavailable
2
FOOTREST 2
3HN-27421-20-00
Unavailable
3
STOPPER
2HR-2743E-00-00
Unavailable
6
PEDAL, BRAKE
4GB-27211-00-00
Unavailable
10
BOLT
90101-06595-00
Unavailable
16
PIN, CLEVIS (3X3)
90240-06076-00
Unavailable
17
PIN 1562723700
90249-12008-00
Unavailable
18
SPRING, (180-27236-00)
90501-10245-00
Unavailable
19
NUT, AJUSTING
20E-26343-00-00
Unavailable
