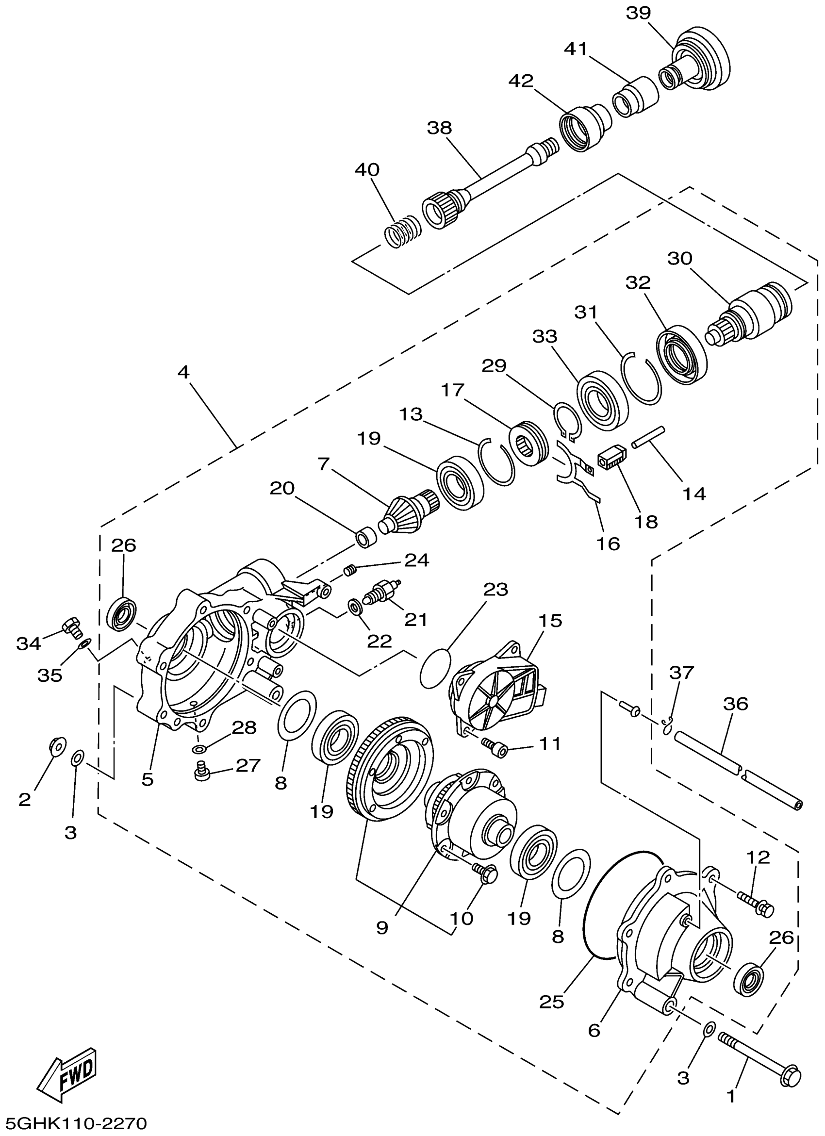
Yamaha YFM400FAHP (KODIAK 4WD HUNTER) 5GHR 2002 FRONT DIFFERENTIAL Diagram
#
1
BOLT, HEXAGON BASED WASHER.
90105-10051-00
Unavailable
4
FRONT AXLE GEAR CASE COMP.
5GH-46160-06-00
Unavailable
5
HOUSING, SHAFT DRIVE 2
5GH-46161-01-00
Unavailable
7
. PINION, DRIVE 2
5GH-46141-00-00
Unavailable
8
SHIM, THRUST
4WV-46119-51-00
Unavailable
8
. SHIM, THRUST (15T)
4WV-46119-60-00
Unavailable
8
. SHIM, THRUST (20T)
4WV-46119-70-00
Unavailable
8
. SHIM, THRUST (25T)
4WV-46119-80-00
Unavailable
9
LIMITED SLIP DIFF. ASSY
99999-03389-00
Unavailable
10
BOLT 1
4WV-46155-00-00
Unavailable
11
BOLT, SOCKET
91317-08020-00
Unavailable
12
BOLT 3
4WV-46159-00-00
Unavailable
13
RING,HOLE SNAP 2
4WV-46143-00-00
Unavailable
14
SHAFT, SHIFTER
5GH-18318-00-00
Unavailable
15
SERVO MOTOR COMP
5GH-4616A-02-00
Unavailable
16
FORK, SHIFT 4
5GH-18514-01-00
Unavailable
17
CLUTCH,DRIVEN
4WV-46441-00-00
Unavailable
18
SHAFT 2
5GH-18319-00-00
Unavailable
19
BEARING 2
4WV-46165-00-00
Unavailable
20
BEARING 4
4WV-46167-00-00
Unavailable
21
NEUTRAL SWITCH ASSY
3GD-82540-11-00
Unavailable
22
GASKET 1
4WV-46132-00-00
Unavailable
23
O-RING
93210-50768-00
Unavailable
24
BOLT, SET
90113-08004-00
Unavailable
25
O-RING
93211-40040-00
Unavailable
26
SEAL,OIL 1
3B4-46163-00-00
Unavailable
27
PLUG, STRIGHT SCREW(5GH1)
90340-10001-00
Unavailable
28
GASKET
90430-10003-00
Unavailable
29
CIRCLIP
93450-44141-00
Unavailable
30
COUPLING
5GH-46126-01-00
Unavailable
31
CIRCLIP
93450-71142-00
Unavailable
32
SEAL,OIL 1
5TE-46163-00-00
Unavailable
33
BEARING
93316-00801-00
Unavailable
34
PLUG, STRAIGHT(2E9)
90340-14029-00
Unavailable
35
GASKET
214-11198-01-00
Unavailable
36
HOSE
90445-07246-00
Unavailable
37
CLIP (1J7)
90467-07029-00
Unavailable
38
SHAFT, DRIVE 2
5GH-46173-00-00
Unavailable
39
COUPLING, GEAR
5GH-46123-00-00
Unavailable
40
SPRING, COMPRESSION
90501-296L7-00
Unavailable
41
SEAL 1
5GH-46136-00-00
Unavailable
42
SEAL 2
5KM-46137-00-00
Unavailable
