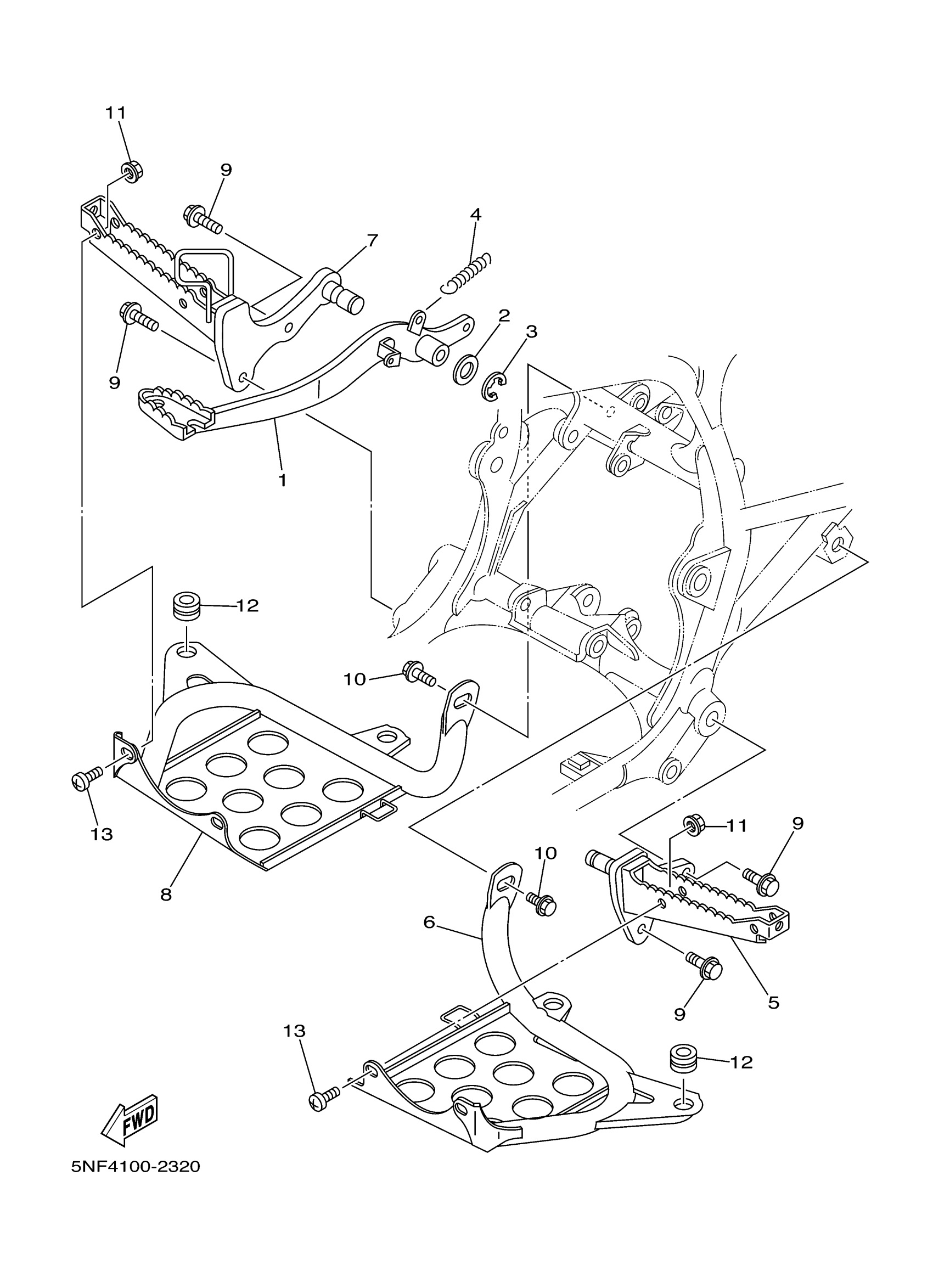
Yamaha YFM35XSC (WARRIOR) 5NFC 2004 STAND FOOTREST Diagram
#
Description
Price
1
PEDAL, BRAKE
3GD-27211-40-00
Unavailable
5
FOOTREST 1
5NF-27411-00-00
Unavailable
6
PLATE 1
3GD-27445-00-00
Unavailable
8
PLATE 2
3GD-27446-00-00
Unavailable
