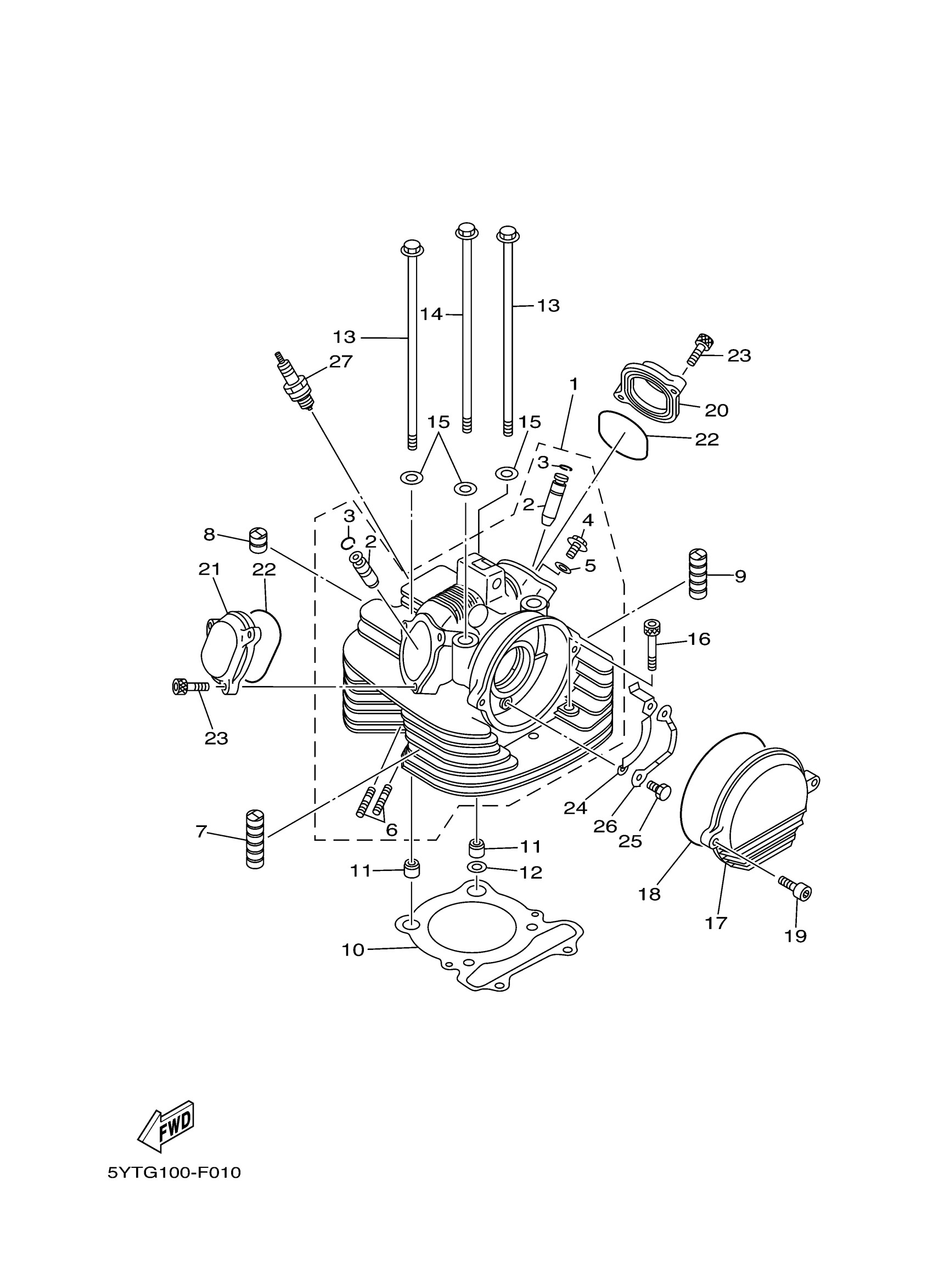
Yamaha YFM35RXL (RAPTOR 350) 5YTS0 2008 CYLINDER HEAD Diagram
#
Description
Price
1
CYLINDER HEAD ASSY
5YT-11101-10-00
Unavailable
4
BOLT UNION 137131650000
90401-06001-00
Unavailable
6
BOLT, STUD
90116-06041-00
Unavailable
16
BOLT
91312-08050-00
Unavailable
17
COVER, CYLINDER HEAD SIDE 1
5NF-11185-00-00
Unavailable
18
O-RING (15A)
93211-06635-00
Unavailable
19
BOLT,SOCKET
91317-06025-00
Unavailable
20
COVER, CYLINDER HEAD SIDE 2
2NL-11186-12-00
Unavailable
21
COVER, CYLINDER HEAD SIDE 3
2NL-11187-11-00
Unavailable
22
O-RING
93210-57634-00
Unavailable
23
BOLT,SOCKET HEAD
91314-06020-00
Unavailable
24
PLATE
3Y1-1111F-00-00
Unavailable
25
BOLT (661)
97013-06012-00
Unavailable
26
WASHER, LOCK (3Y1)
90215-06162-00
Unavailable
27
DR8EA NGK SPLUG 10PK
DR8-EA000-00-00
Unavailable
