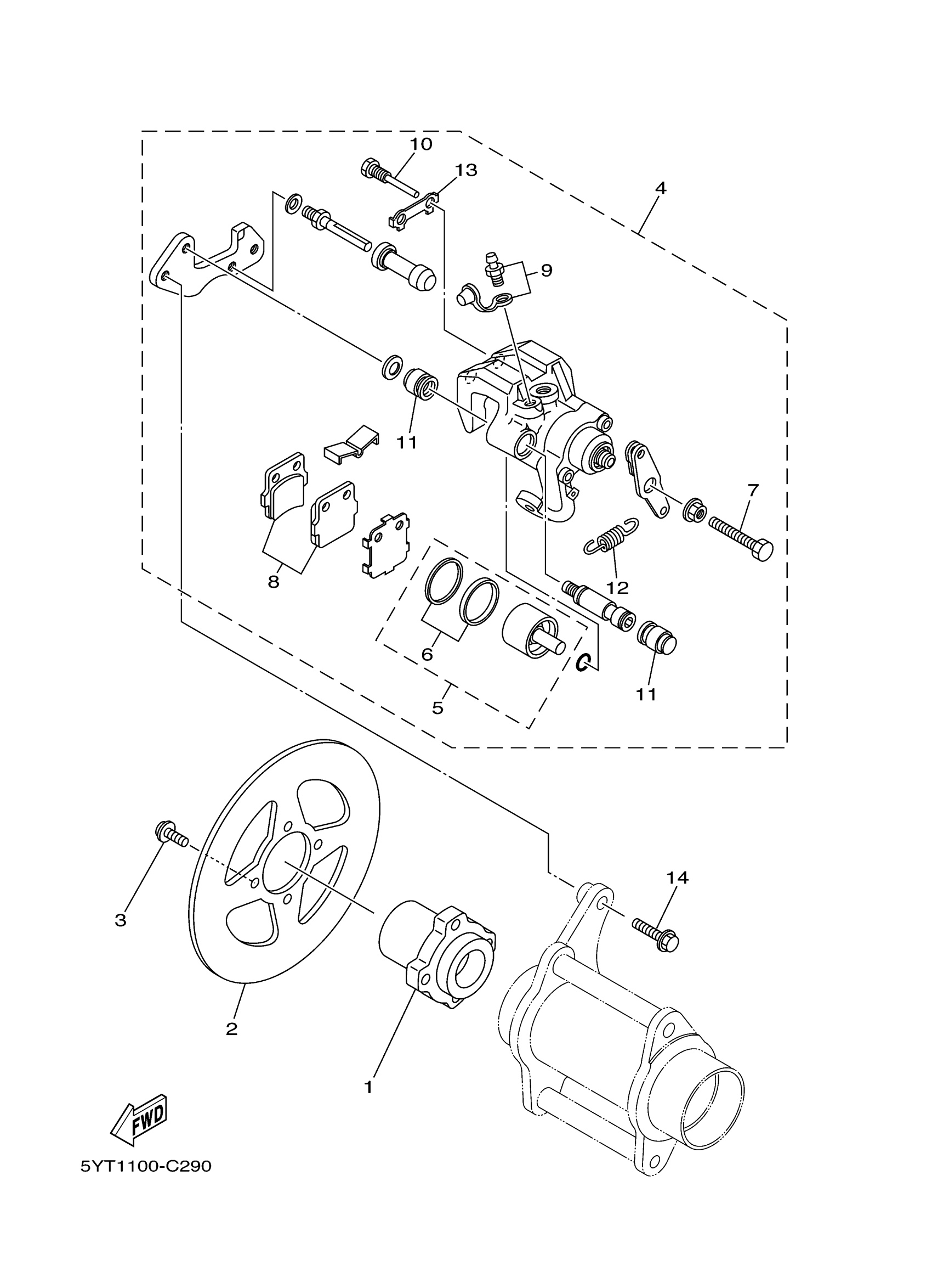
Yamaha YFM35RW (RAPTOR 350) 5YTG 2007 REAR BRAKE Diagram
#
Description
Price
1
BRACKET, DISC
5YT-25712-00-00
Unavailable
2
DISK, REAR BRAKE 2
5TG-2582W-00-00
Unavailable
10
PIN, PAD
1UY-25924-51-00
Unavailable
12
SPRING, RETURN
5YT-25977-50-00
Unavailable
