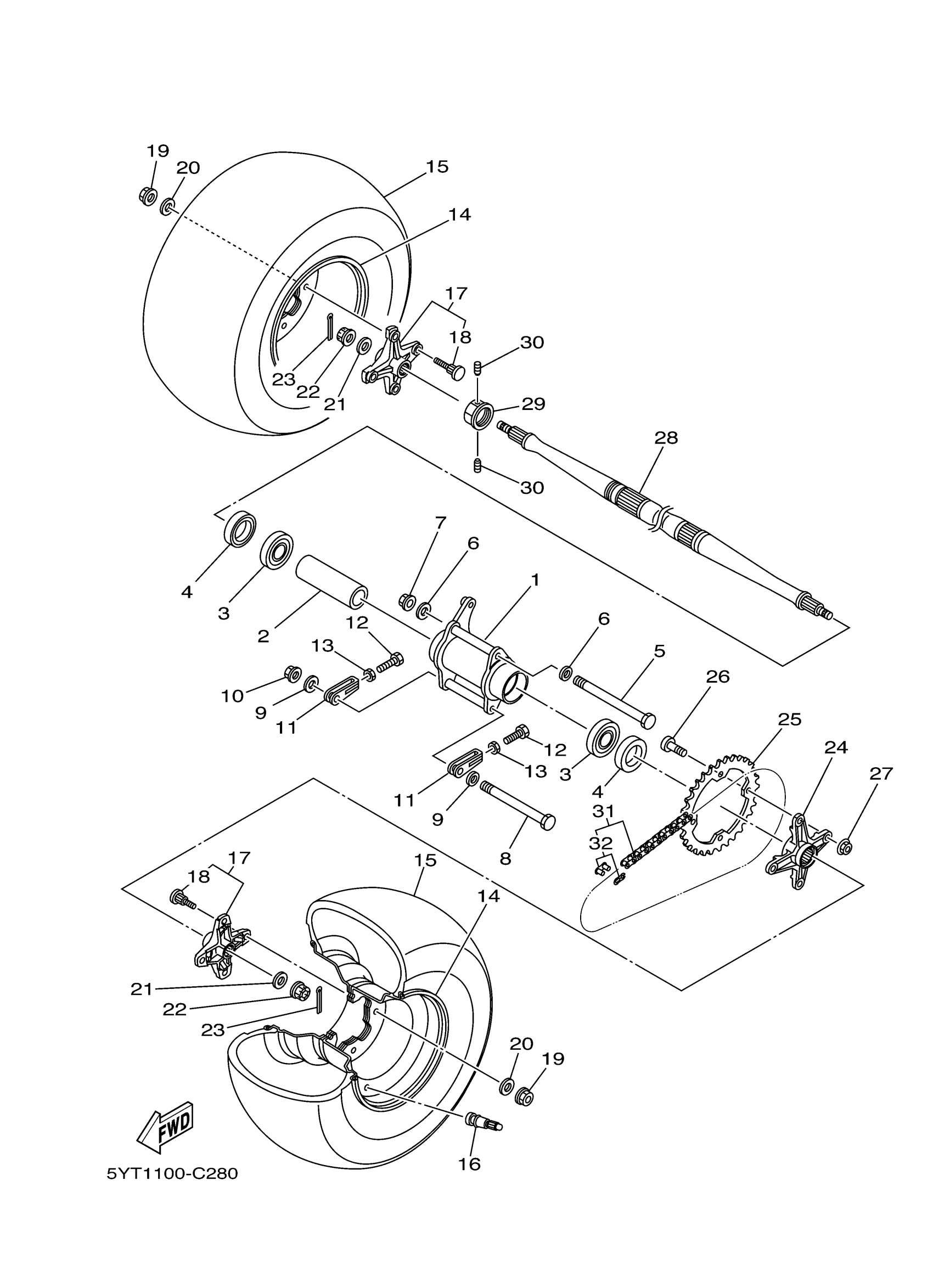
Yamaha YFM35RSE2W (RAPTOR 350 SPECIAL EDITION 2) 5YTN 2007 REAR WHEEL Diagram
#
Description
Price
14
WHEEL,REAR
5LP-F5390-29-00
Unavailable
15
TIRE (AT20X10-9 DI-K778A T/L)
94110-09028-00
Unavailable
16
VALVE, RIM(2GH)
93900-00030-00
Unavailable
17
WHEEL SHAFT COLLAR ASSY.
1PE-F53K0-00-00
Unavailable
18
BOLT, SERRATION
90114-10013-00
Unavailable
19
NUT, FLANGE(3BM)
95704-10500-00
Unavailable
20
958-69527-00 WASHER, PLAIN
92990-10200-00
Unavailable
21
WASHER, PLATE
90201-14021-00
Unavailable
22
NUT, CASTLE
90171-14004-00
Unavailable
23
PIN, COTTER
91490-30030-00
Unavailable
24
COLLAR, SPROCKET AXLE
5YT-25386-00-00
Unavailable
25
SPROCKET, DRIVEN (38T)
5TG-25438-10-00
Unavailable
26
BOLT
90109-10013-00
Unavailable
27
NUT, SELF-LOCKING
90185-10011-00
Unavailable
28
AXLE, WHEEL
5YT-F5381-19-00
Unavailable
29
NUT
90170-33010-00
Unavailable
30
BOLT, SET (8K2)
90113-06039-00
Unavailable
31
CHAIN
9Y581-87097-00
Unavailable
32
JOINT, CHAIN
94681-87011-00
Unavailable
