Yamaha YFM35GZGR (GRIZZLY 350 2WD) 5WHL 2010 EMBLEM & LABEL 1 Diagram
#
Description
Price
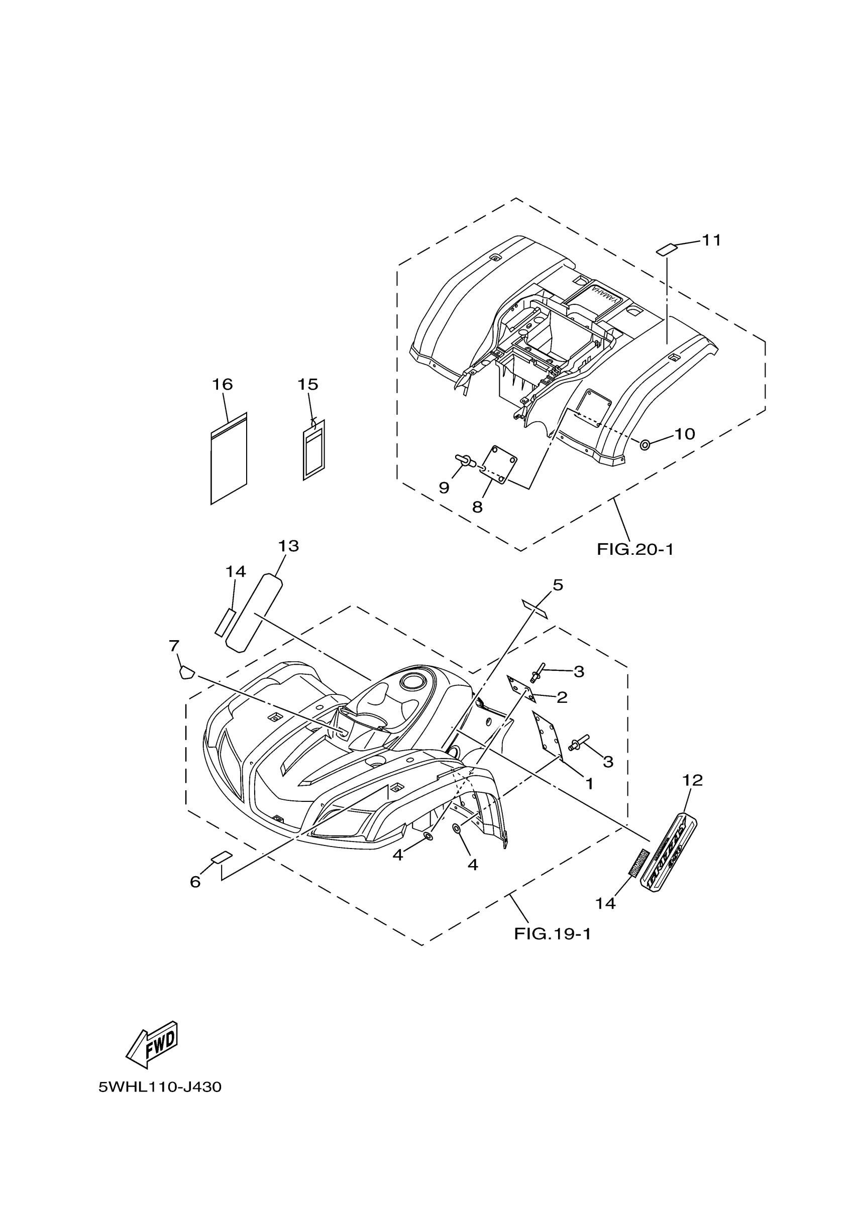
5
LABEL 2
5TE-F151E-00-00
Unavailable
7
EMBLEM 3D
3B4-26232-01-00
Unavailable
8
LABEL, WARNING TIRE & LOAD
5FU-F816M-00-00
Unavailable
12
EMBLEM 1
1AB-F1781-00-00
Unavailable
13
EMBLEM 2
1AB-F1782-00-00
Unavailable
16
POUCH
1P0-F8186-01-00
Unavailable
