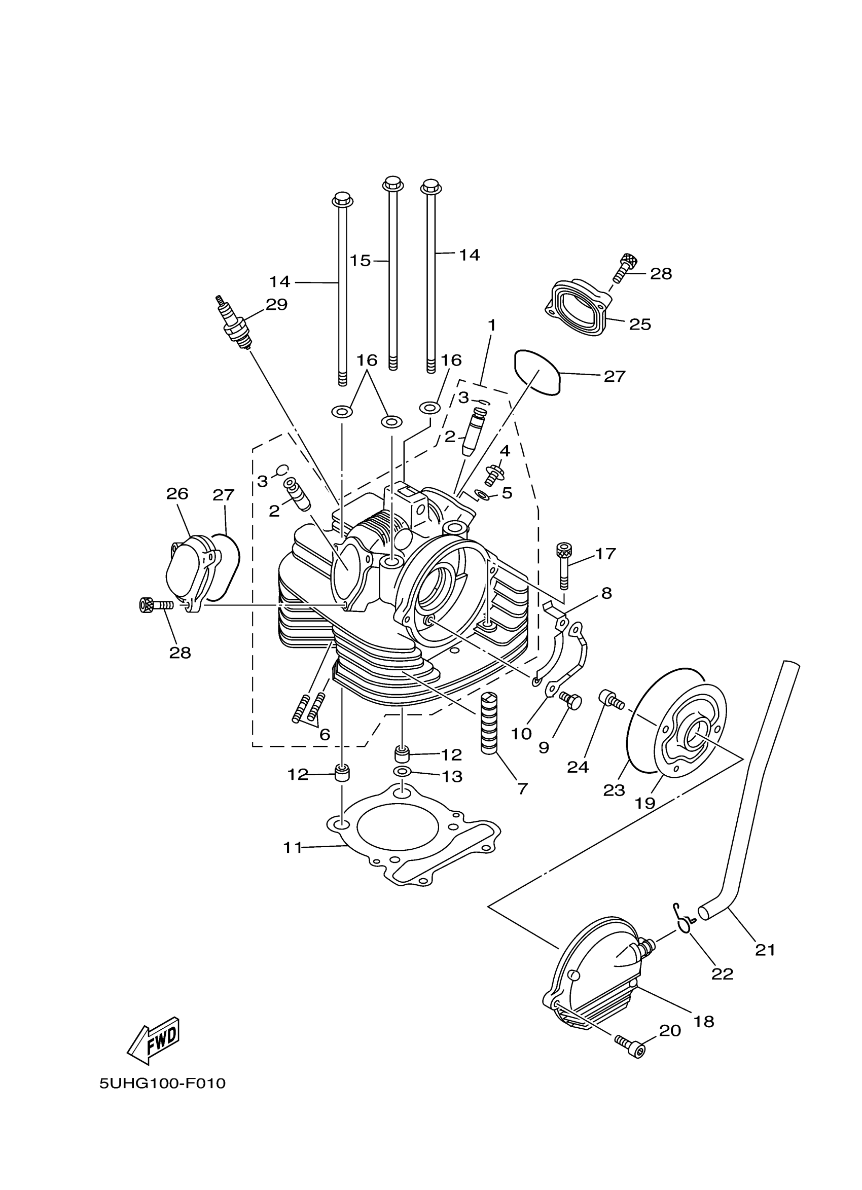
Yamaha YFM35GW (GRIZZLY 350 2WD) 5WHA 2007 CYLINDER HEAD Diagram
#
Description
Price
1
CYLINDER HEAD ASSY
5YT-11101-20-00
Unavailable
8
PLATE
3Y1-1111F-00-00
Unavailable
16
WASHER PLATE 341839090000
90201-10128-00
Unavailable
17
BOLT, SOCKET
91317-08050-00
Unavailable
18
BREATHER ASSY
4WU-11160-01-00
Unavailable
19
PLATE, BREATHER
4KB-11165-00-00
Unavailable
20
BOLT, FLANGE(4MY)
95027-06012-00
Unavailable
21
PIPE, BREATHER 1
3C2-E1166-00-00
Unavailable
22
CLIP (371)
90467-14015-00
Unavailable
23
O-RING (15A)
93211-06635-00
Unavailable
24
BOLT,SOCKET
91317-06025-00
Unavailable
25
COVER, CYLINDER HEAD SIDE 2
2NL-11186-12-00
Unavailable
26
COVER, CYLINDER HEAD SIDE 3
2NL-11187-11-00
Unavailable
27
O-RING
93210-57634-00
Unavailable
28
BOLT,SOCKET
91317-06020-00
Unavailable
29
DR8EA NGK SPLUG 10PK
DR8-EA000-00-00
Unavailable
