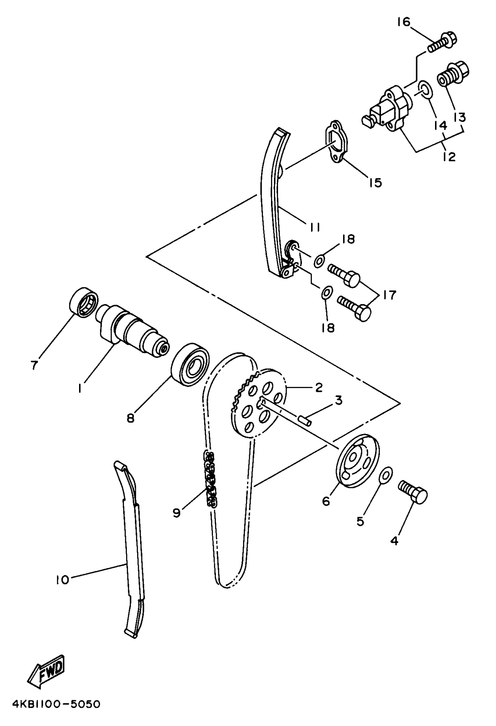
Yamaha YFM35FXJ_MNH (WOLVERIINE) 4KB6 1997 CAMSHAFT CHAIN Diagram
#
Description
Price
11
GUIDE, STOPPER 2
4KB-12241-00-00
Unavailable
16
BOLT, WASHER BASED(4KG)
90105-060A0-00
Unavailable
17
BOLT, HEXAGON
97017-06016-00
Unavailable
18
WASHER(6TA)
92907-06600-00
Unavailable
