Partiron

Yamaha YFM35FXG_MNH (WOLVERINE) 4KB1 1995 FRONT FENDER Diagram

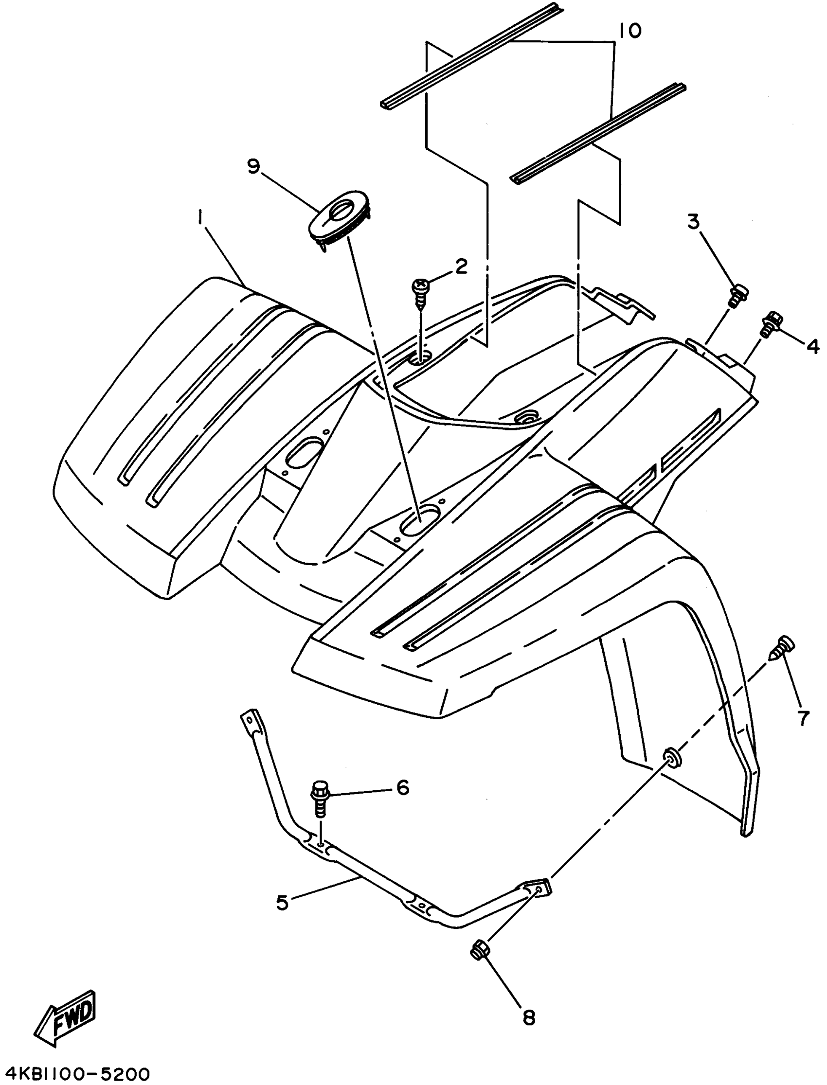
#

Description
Price

1

FENDER, FRONT

4KB-21511-00-00

Unavailable

1

FENDER,FRONT

4KB-W215D-12-00

Unavailable

2

SCREW(3JM)

90149-06306-00

$8.49

3

SCREW, W/WASHER (14T)

90159-06059-00

Unavailable

4

BOLT, WITH WASHER

90119-06152-00

$7.49

5

STAY, FENDER 1

4KB-21513-00-00

Unavailable

6

BOLT, FLANGE

95817-06012-00

$1.43

7

SCREW(3JM)

90149-06306-00

$8.49

8

NUT,SELF-LOCKING

95607-06200-00

$12.49

9

DAMPER 1

4KB-21541-00-00

Unavailable

10

MOLE, SIDE COVER 1

4WV-2171L-00-00

$8.99