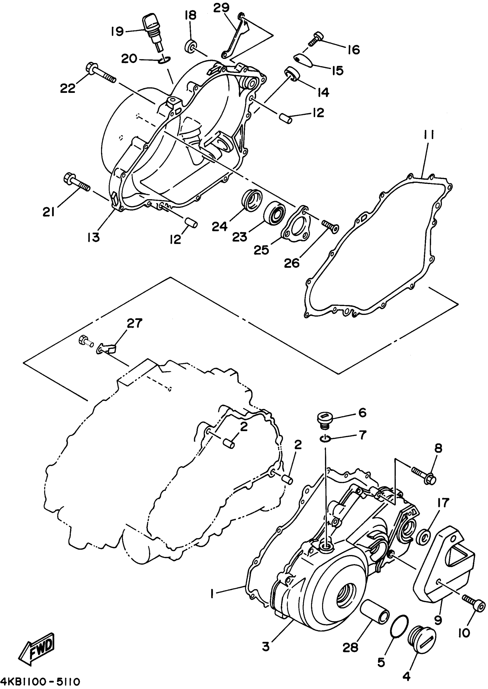
Yamaha YFM35FXG_MNH (WOLVERINE) 4KB1 1995 CRANKCASE COVER 1 Diagram
#
Description
Price
3
COVER, CRANKCASE 1
4KB-15411-01-00
Unavailable
4
PLUG, STRAIGHT SCREW
90340-36098-00
Unavailable
9
COVER, CRANKCASE 2
4KB-15421-00-00
Unavailable
13
COVER, CRANKCASE 3
4KB-15431-01-00
Unavailable
14
PLUG
90338-28221-00
Unavailable
15
COVER
4KB-15492-00-00
Unavailable
16
SCREW, PAN
98507-06010-00
Unavailable
17
OIL SEAL (3Y1)
93102-14209-00
Unavailable
18
SEAL, OIL (30X)
93102-12321-00
Unavailable
19
PLUG, OIL LEVEL
4KB-15362-00-00
Unavailable
20
O-RING (5Y1)
93210-19522-00
Unavailable
22
BOLT, SMALL FLANGE
95027-06040-00
Unavailable
23
BEARING(37F)
93306-20335-00
Unavailable
24
OIL SEAL (21V)
93101-17113-00
Unavailable
25
PLATE, BEARING COVER
21V-15381-00-00
Unavailable
26
SCREW, COUNTERSUNK (21V)
90151-06025-00
Unavailable
27
CLAMP(4KB)
90465-08377-00
Unavailable
28
BOSS, STARTER PULLEY
4KB-15777-00-00
Unavailable
29
BRACKET
4KB-18128-00-00
Unavailable
