Yamaha YFM35FXG_MNH (WOLVERINE) 4KB1 1995 CAMSHAFT - CHAIN Diagram
#
Description
Price
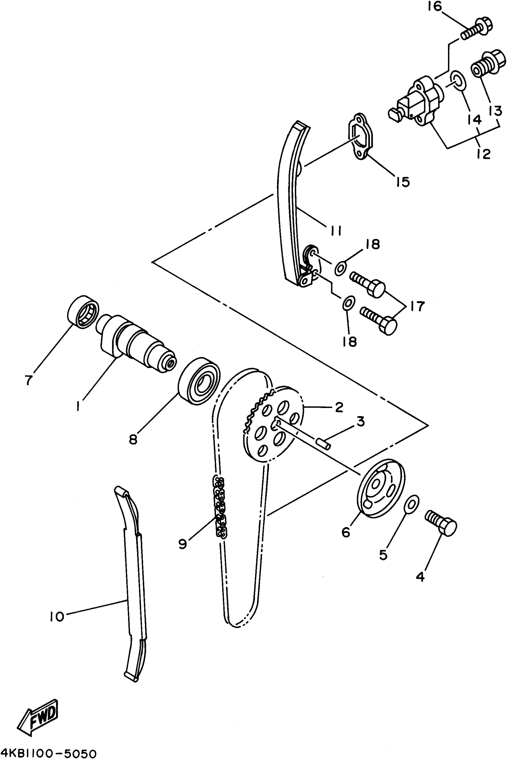
11
GUIDE, STOPPER 2
4KB-12241-00-00
Unavailable
16
BOLT, SMALL FLANGE
95027-06025-00
Unavailable
17
BOLT, HEXAGON
97017-06016-00
Unavailable
18
WASHER(6TA)
92907-06600-00
Unavailable
