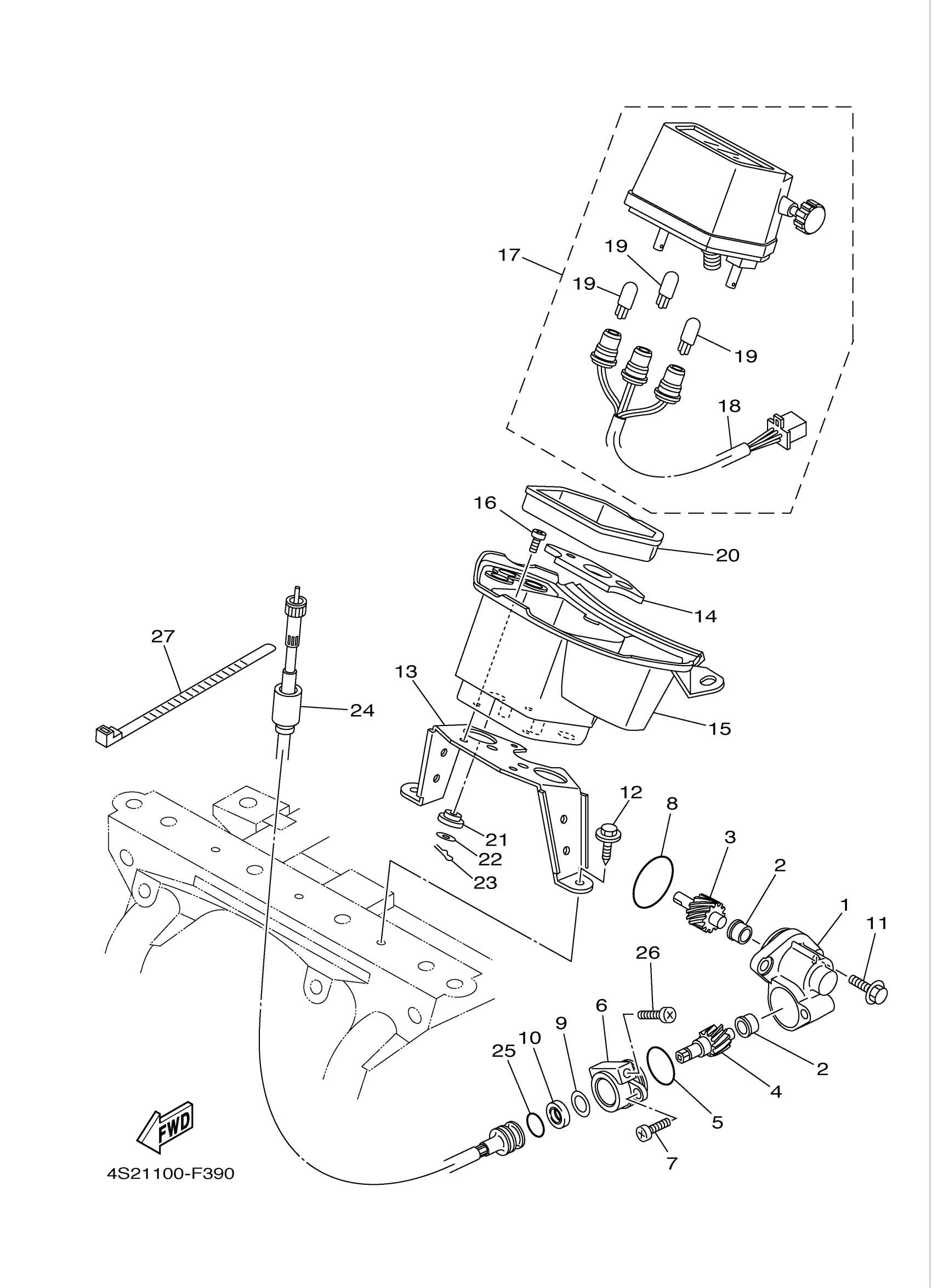
Yamaha YFM35FGIHW (GRIZZLY 350 IRS HUNTER) 4S25 2007 METER Diagram
#
Description
Price
1
HOUSING, TACHOMETER GEAR
4WV-17811-00-00
Unavailable
4
GEAR, DRIVEN
4WV-17841-00-00
Unavailable
7
SCREW, PAN HEAD
98580-06016-00
Unavailable
9
WASHER (692)
90201-12M34-00
Unavailable
13
. BRKT, METER
5UH-F834L-00-00
Unavailable
14
DAMPER
4S1-H3513-00-00
Unavailable
15
PANEL, CONSOLE 1
5UH-F837L-11-00
Unavailable
16
SCREW, PAN HEAD(3LA)
98517-05010-00
Unavailable
17
SPEEDOMETER ASSY
4S1-83570-01-00
Unavailable
18
SOCKET, METER
4S1-83536-00-00
Unavailable
19
BULB (12V-1.7W)
3GM-83517-00-00
Unavailable
20
. DAMPER
5UH-H252R-00-00
Unavailable
21
DAMPER 2
1M1-83526-01-00
Unavailable
22
WASHER, SPECIAL
4X8-83524-00-00
Unavailable
23
CLIP (156-83525-00)
90468-10050-00
Unavailable
24
SPEEDOMETER CABLE
5VH-H3550-01-00
Unavailable
25
O-RING (26H)
93210-14579-00
Unavailable
26
SCREW, PAN
98517-06030-00
Unavailable
27
CLAMP(JN6)
90464-31827-00
Unavailable
