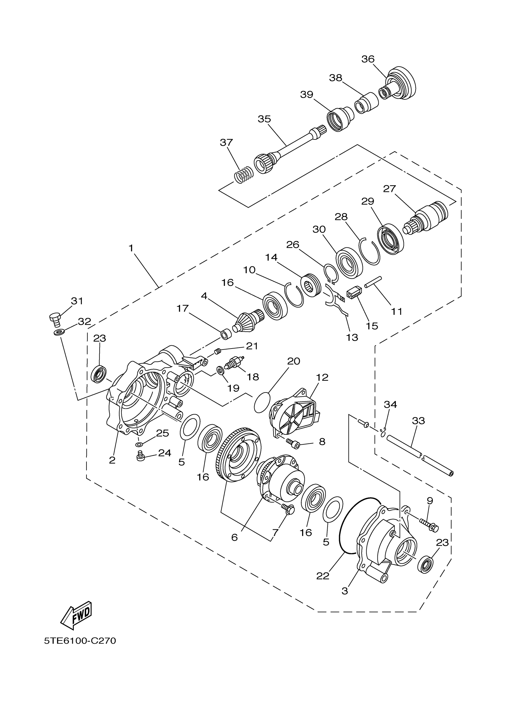
Yamaha YFM35FGDR (GRIZZLY 350 4WD) 1NS62 2013 FRONT DIFFERENTIAL Diagram
#
1
FRONT AXLE GEAR CASE COMP.
5GH-46160-06-00
Unavailable
2
HOUSING, SHAFT DRIVE 2
5GH-46161-01-00
Unavailable
4
PINION, DRIVE 2
5GH-46141-01-00
Unavailable
5
SHIM, THRUST
4WV-46119-51-00
Unavailable
6
LIMITED SLIP DIFF. ASSY
5GH-46470-04-00
Unavailable
10
RING,HOLE SNAP 2
4WV-46143-00-00
Unavailable
11
SHAFT, SHIFTER
5GH-18318-00-00
Unavailable
12
SERVO MOTOR COMP
5GH-4616A-02-00
Unavailable
13
FORK, SHIFT 4
5GH-18514-01-00
Unavailable
14
CLUTCH,DRIVEN
4WV-46441-00-00
Unavailable
15
SHAFT 2
5GH-18319-00-00
Unavailable
16
BEARING 2
4WV-46165-00-00
Unavailable
17
BEARING 4
4WV-46167-00-00
Unavailable
18
NEUTRAL SWITCH ASSY
3GD-82540-11-00
Unavailable
19
GASKET 1
4WV-46132-00-00
Unavailable
20
O-RING
93210-50768-00
Unavailable
21
BOLT, SET
90113-08004-00
Unavailable
22
O-RING
93211-40040-00
Unavailable
23
SEAL,OIL 1
3B4-46163-00-00
Unavailable
24
PLUG, STRIGHT SCREW(5GH1)
90340-10001-00
Unavailable
25
GASKET
90430-10003-00
Unavailable
26
CIRCLIP
93450-44141-00
Unavailable
27
COUPLING
5GH-46126-01-00
Unavailable
28
CIRCLIP
93450-71142-00
Unavailable
29
SEAL,OIL 1
5TE-46163-00-00
Unavailable
30
BEARING
93316-00801-00
Unavailable
31
PLUG, STRAIGHT(2E9)
90340-14029-00
Unavailable
32
GASKET
214-11198-01-00
Unavailable
33
HOSE
90445-07809-00
Unavailable
34
CLIP (1J7)
90467-07029-00
Unavailable
35
SHAFT, DRIVE 2
5TE-G6173-10-00
Unavailable
36
COUPLING, GEAR
5GH-46123-00-00
Unavailable
37
SPRING, COMPRESSION
90501-290A1-00
Unavailable
38
SEAL 1
5GH-46136-00-00
Unavailable
39
SEAL 2
5KM-46137-00-00
Unavailable
