- Partiron
- OEM Parts
- Yamaha
- atv
- 2004
- YFM35FAS (BRUIN 350 AUTO 4X4_HARDWOOD) 5UH1 2004
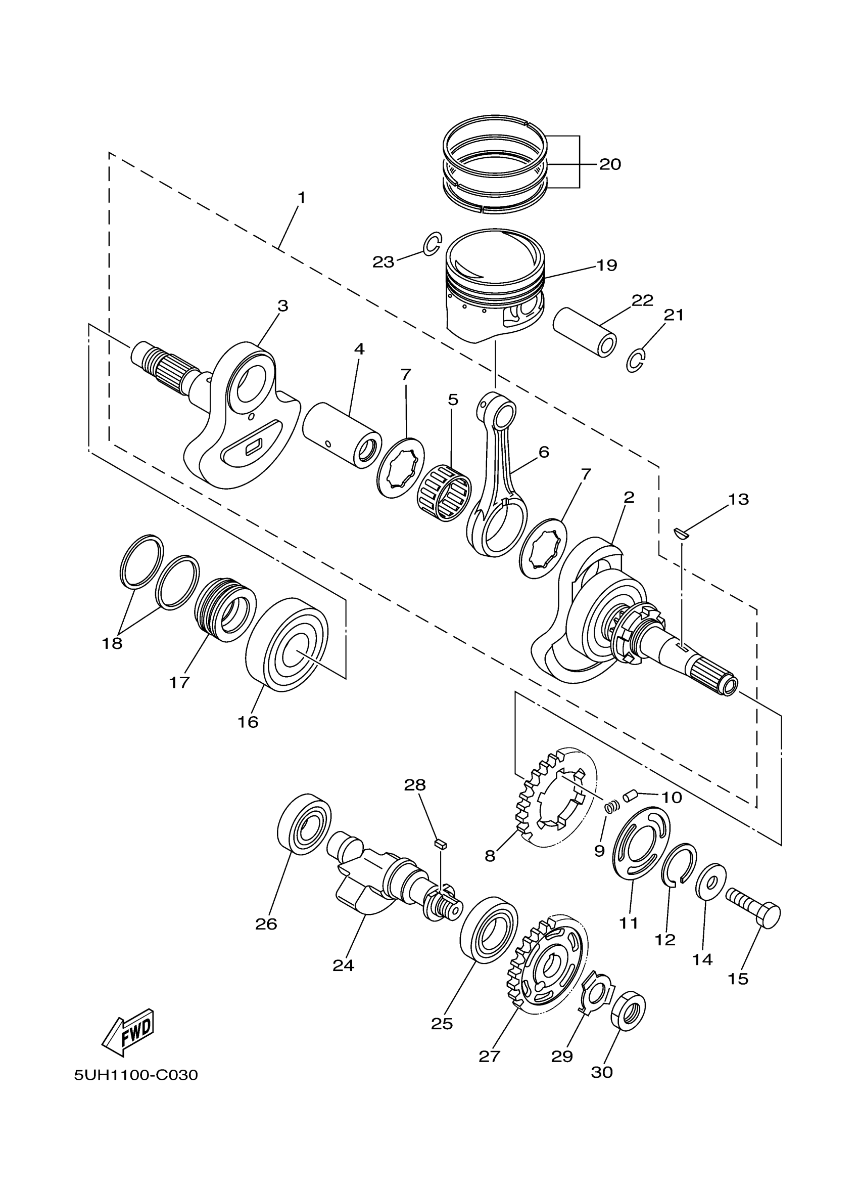
CRANKSHAFT PISTON
Yamaha YFM35FAS (BRUIN 350 AUTO 4X4_HARDWOOD) 5UH1 2004 CRANKSHAFT PISTON Diagram
#
Description
Price
2
CRANK SUB ASSY 1
5UH-11401-09-00
Unavailable
3
CRANK 2
5UH-W1142-00-00
Unavailable
4
PIN, CRANK 1
30X-11681-00-00
Unavailable
8
GEAR, DRIVE
5UH-11536-00-00
Unavailable
9
SPRING, COMPRESSION (5Y1)
90501-22721-00
Unavailable
16
BRG,R-B 6306 72MM 351G KY
93306-30615-00
Unavailable
17
SPACER 1
5UH-16181-00-00
Unavailable
18
SEAL, CRANK
5KM-11447-00-00
Unavailable
19
PISTON (STD)
5UH-11631-00-C0
Unavailable
19
PISTON (0.50MM O/S)
5UH-11636-00-00
Unavailable
19
PISTON (1.00MM O/S)
5UH-11638-00-00
Unavailable
20
PISTON RING SET (STD)
4GB-11610-00-00
Unavailable
20
PISTON RING SET (0.50MM O/S)
4GB-11610-20-00
Unavailable
20
PISTON RING SET (1.00MM O/S)
4GB-11610-40-00
Unavailable
21
CIRCLIP (26H)
93450-19095-00
Unavailable
22
PIN, PISTON
55V-11633-00-00
Unavailable
23
CIRCLIP (26H)
93450-19095-00
Unavailable
24
WEIGHT 1
5UH-11454-00-00
Unavailable
25
BEARING(2HR)
93306-00612-00
Unavailable
26
BEARING(1GJ)
93306-20458-00
Unavailable
27
GEAR, BALANCE WEIGHT
5UH-11531-00-00
Unavailable
28
KEY, STRAIGHT(34K)
90282-05065-00
Unavailable
29
WASHER, LOCK(1UY)
90215-16258-00
Unavailable
30
NUT, HEXAGON (30X)
90170-16326-00
Unavailable
