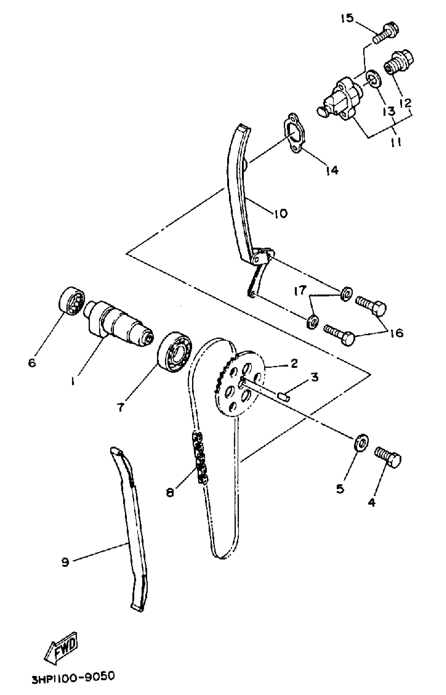
Yamaha YFM350XW (WARRIOR) 3GD 1989 CAMSHAFT CHAIN Diagram
#
Description
Price
10
GUIDE, STOPPER 2
1UY-12241-01-00
Unavailable
16
BOLT, HEXAGON DEEP RECESS
97D95-06016-00
Unavailable
17
WASHER, PLAIN (646)
92990-06600-00
Unavailable
