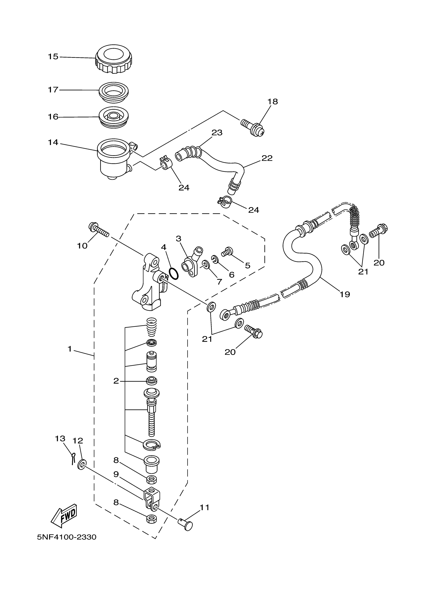
Yamaha YFM350XRC (WARRIOR) 5NF9 2003 REAR MASTER CYLINDER Diagram
#
Description
Price
1
RR. MASTER CYLINDER ASSY.
3GD-2583V-10-00
Unavailable
3
CONNECTOR
29L-2582A-50-00
Unavailable
13
PIN, COTTER
91490-16020-00
Unavailable
14
TANK, RESERVOIR
47X-25894-00-00
Unavailable
16
DIAPHRAGM, RESERVER
360-25854-01-00
Unavailable
17
BUSH,DIAPHRAGM
2GU-25855-00-00
Unavailable
18
SCREW, WITH WASHER (5U8)
90159-06056-00
Unavailable
19
. HOSE, BRAKE
3GD-25874-02-00
Unavailable
20
BOLT, UNION(3GM)
90401-10159-00
Unavailable
21
WASHER, PLATE(481)
90201-10118-00
Unavailable
22
HOSE, RESERVOIR
1UY-25895-00-00
Unavailable
23
SPRING, COMPRESSION
90501-102E8-00
Unavailable
24
CLIP (5K4)
90467-14057-00
Unavailable
