Yamaha YFM350XH (WARRIOR) 3GDH 1996 CAMSHAFT CHAIN Diagram
#
Description
Price
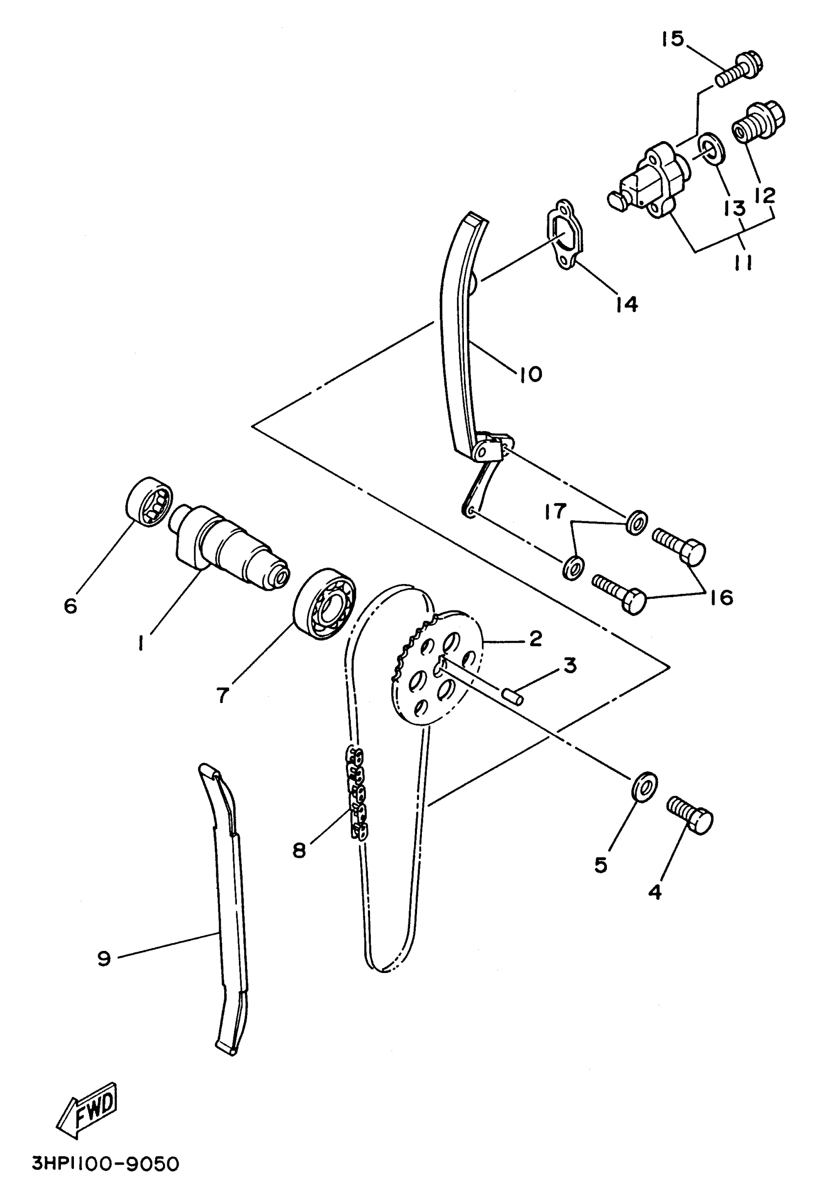
10
GUIDE, STOPPER 2
1UY-12241-01-00
Unavailable
16
BOLT, HEXAGON
97017-06016-00
Unavailable
17
WASHER(6TA)
92907-06600-00
Unavailable
