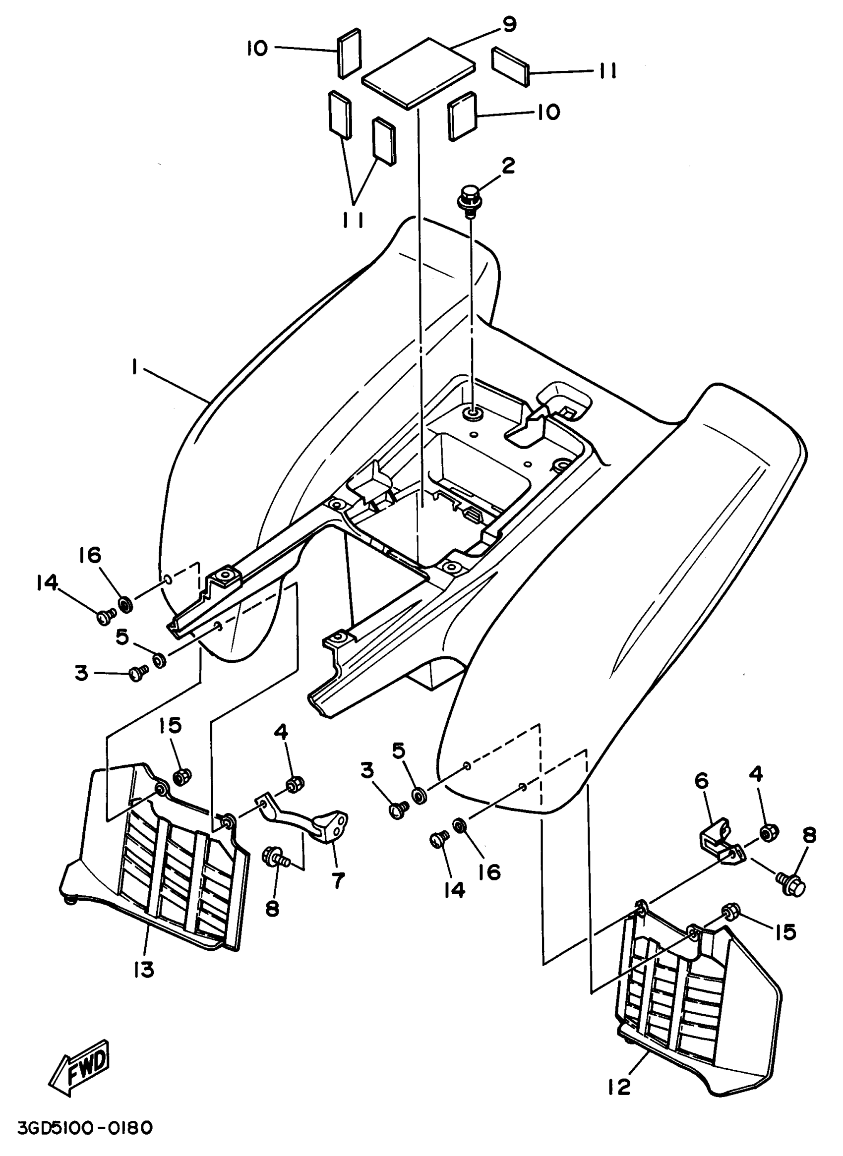
Yamaha YFM350XG_MNH (WARRIOR) 3GDF 1995 REAR FENDER Diagram
#
Description
Price
1
REAR FENDER COMP.
3GD-W2161-72-00
Unavailable
7
STAY, FENDER 2
1UY-21614-00-00
Unavailable
12
FLAP
3GD-21691-00-00
Unavailable
13
FLAP
3GD-21621-00-00
Unavailable
