Yamaha YFM350XF_MNH (WARRIOR) 3GDD 1994 EXHAUST Diagram
#
Description
Price
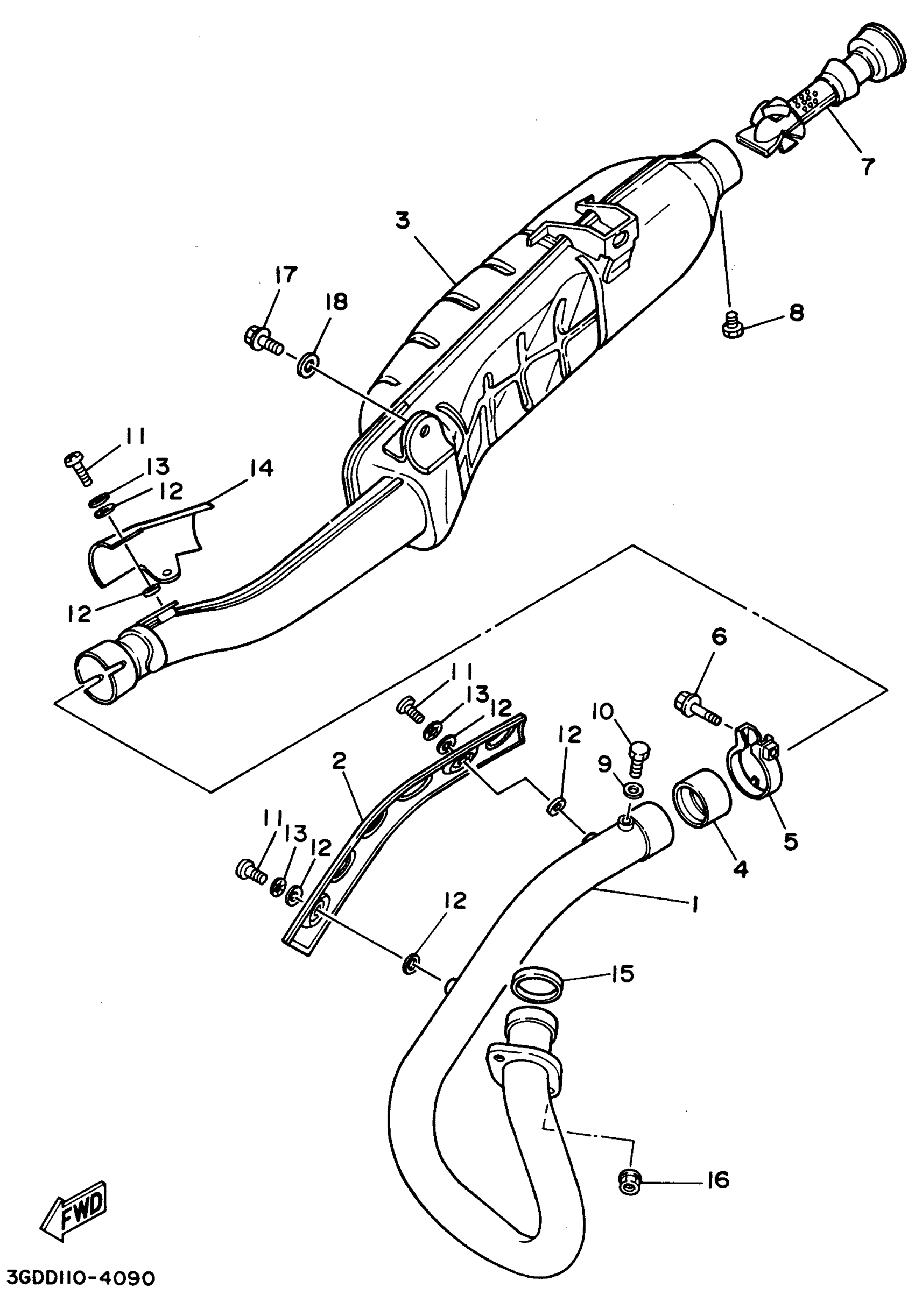
1
PIPE, EXHAUST 1
1UY-14611-03-00
Unavailable
2
PROTECTOR, EXHAUST PIPE
1YW-14628-00-00
Unavailable
5
BAND, MUFFLER
1UY-14715-00-00
Unavailable
7
PIPE, OUTLET
21V-14752-00-00
Unavailable
14
PROTECTOR, MUFFLER 1
1UY-14718-00-00
Unavailable
16
NUT (1AE)
90179-06500-00
Unavailable
17
BOLT, FLANGE(JN5)
95817-08016-00
Unavailable
18
WASHER (853)
90201-08326-00
Unavailable
