Partiron

Yamaha YFM350XD (WARRIOR) 3GD 1992 TAILLIGHT Diagram

#

Description
Price

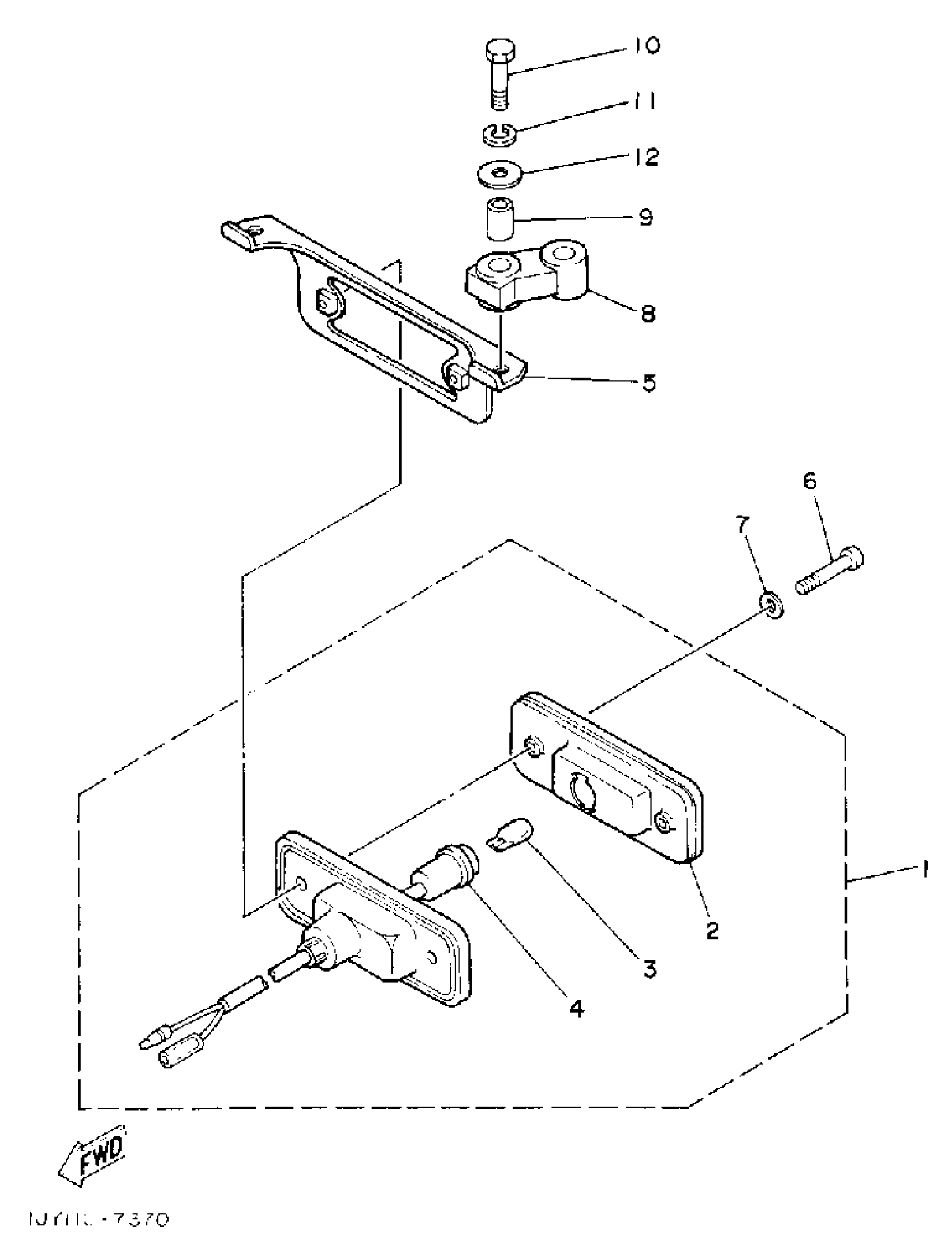
1

. TAILLIGHT UNIT ASSY

38W-84710-00-00

Unavailable

2

. LENS, TAILLIGHT

38W-84721-00-00

Unavailable

3

. BULB, METER 12V 38W

3F9-84744-00-XX

Unavailable

4

. TAILLIGHT UNIT ASSY

38W-84710-00-00

Unavailable

5

BRACKET, TAILLIGHT

1UY-84702-10-00

Unavailable

6

SCREW, PAN HEAD

98517-04020-00

$8.49

7

WASHER, PLAIN (646)

92990-04600-00

$5.99

8

DAMPER, TAIL 1

38W-84736-00-00

$6.99

9

COLLAR (1M1)

90387-06553-00

$9.49

10

BOLT, HEXAGON

97017-06025-00

$4.24

11

WASHER, SPRING

92907-06100-00

$4.25

12

WASHER, PLATE 8221447500

90201-06057-00

$5.60