Partiron

Yamaha YFM350XB_MNH (WARRIOR) 3GD7 1991 SIDE COVER Diagram

#

Description
Price

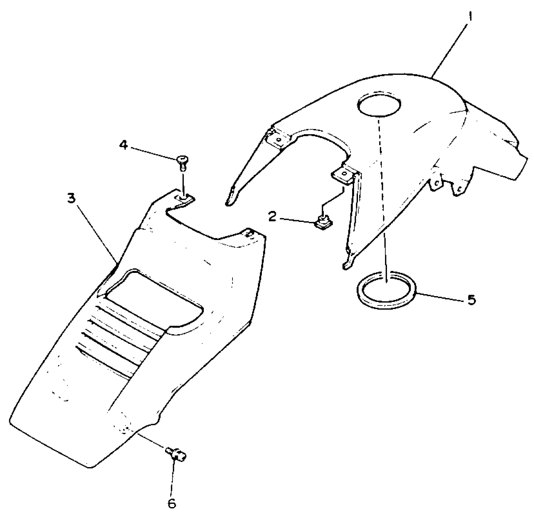
1

COVER, TOP

3GD-2171A-20-00

Unavailable

2

NUT, SPRING

90183-051A0-00

$3.81

3

PANEL, FRONT

3GD-23391-20-00

Unavailable

4

SCREW, BINDING (10V)

90154-05013-00

$5.60

5

DAMPER, LOCATING 1

1UY-21778-00-00

Unavailable

6

SCREW, W/WASHER (4L0)

90159-06060-00

$8.49