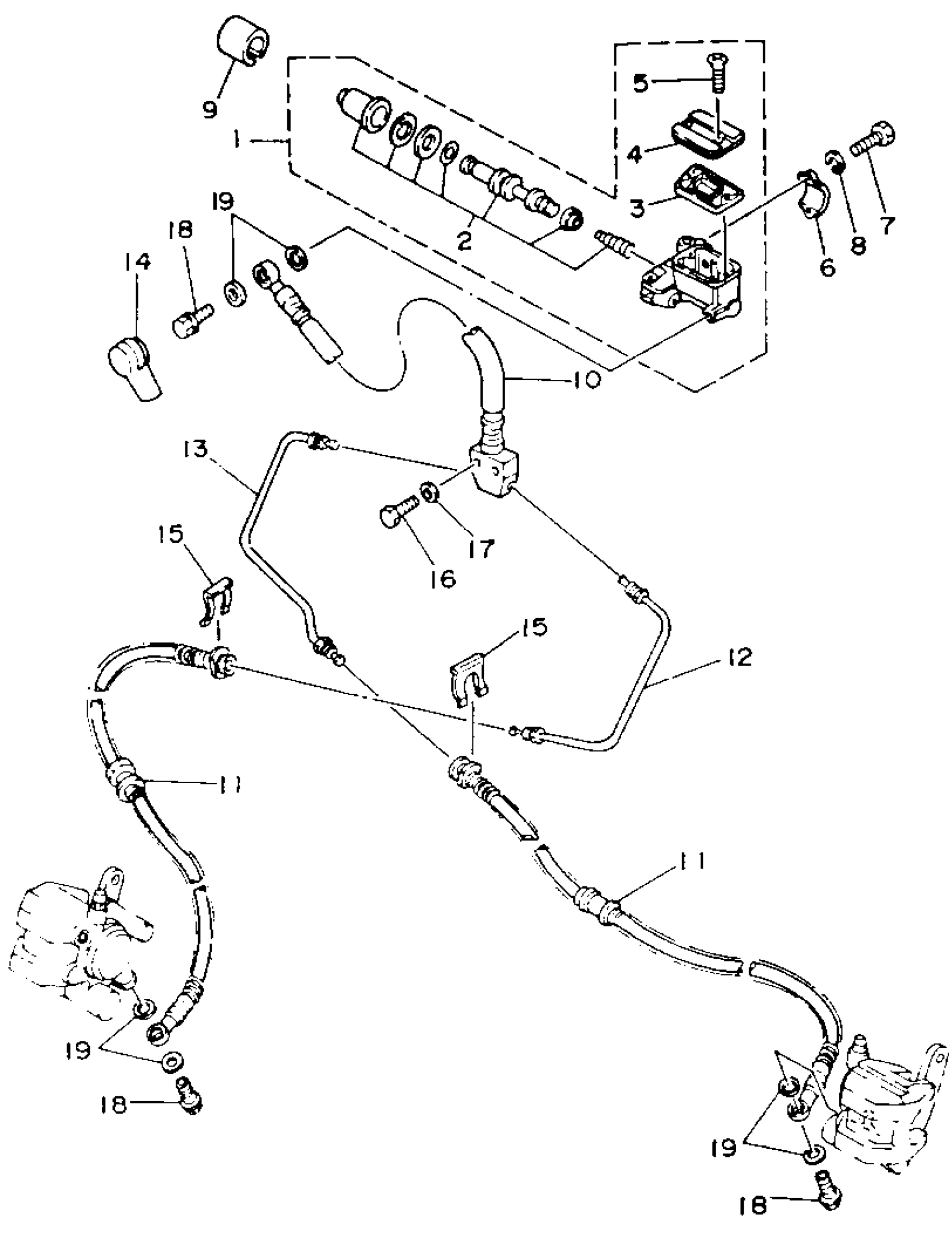
Yamaha YFM350XB_MNH (WARRIOR) 3GD7 1991 FRONT MASTER CYLINDER Diagram
#
Description
Price
2
CYLINDER KIT, MASTER
4H7-W0041-50-00
Unavailable
10
HOSE, BRAKE 1
99999-02413-00
Unavailable
11
HOSE,BRAKE 2
99999-02414-00
Unavailable
12
PIPE, BRAKE
3GD-25871-00-00
Unavailable
13
PIPE, BRAKE 2
3GD-25882-00-00
Unavailable
16
BOLT (682)
97013-08025-00
Unavailable
17
.. WASHER, PLATE
92990-08600-00
Unavailable
18
BOLT, UNION(3GM)
90401-10159-00
Unavailable
19
WASHER, PLATE(481)
90201-10118-00
Unavailable
