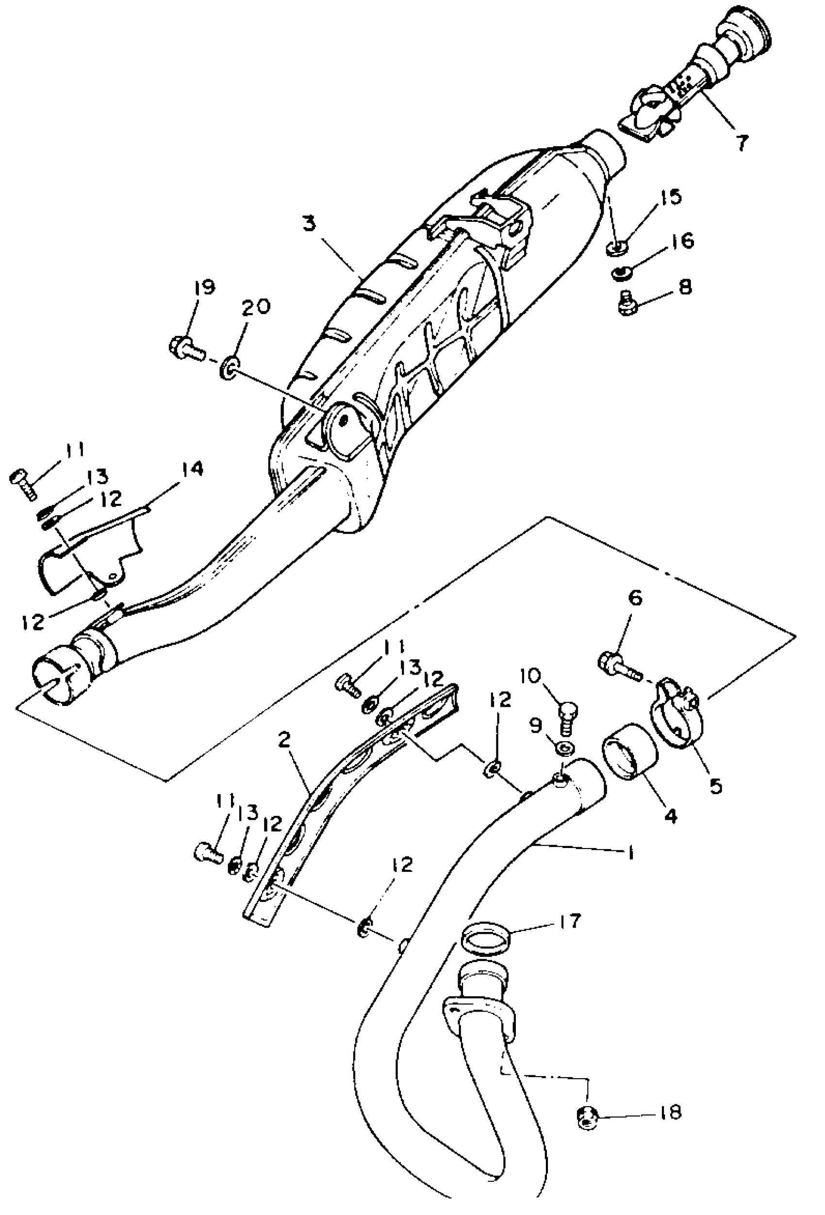
Yamaha YFM350XB_MNH (WARRIOR) 3GD7 1991 EXHAUST Diagram
#
Description
Price
1
PIPE, EXHAUST 1
1UY-14611-03-00
Unavailable
2
PROTECTOR, EXHAUST PIPE
1YW-14628-00-00
Unavailable
5
BAND, MUFFLER
1UY-14715-00-00
Unavailable
7
PIPE, OUTLET
21V-14752-00-00
Unavailable
12
WASHER, PROTECTOR
30X-14766-00-00
Unavailable
14
PROTECTOR, MUFFLER 1
1UY-14718-00-00
Unavailable
16
WASHER, SPRING
92995-06100-00
Unavailable
17
GASKET, EXHAUST PIPE
3GD-14613-00-00
Unavailable
18
NUT (1AE)
90179-06500-00
Unavailable
19
BOLT, FLANGE(JN5)
95817-08016-00
Unavailable
20
WASHER (853)
90201-08326-00
Unavailable
