Partiron

Yamaha YFM350FXN (WOLVERINE) 4KBM 2001 SEAT Diagram

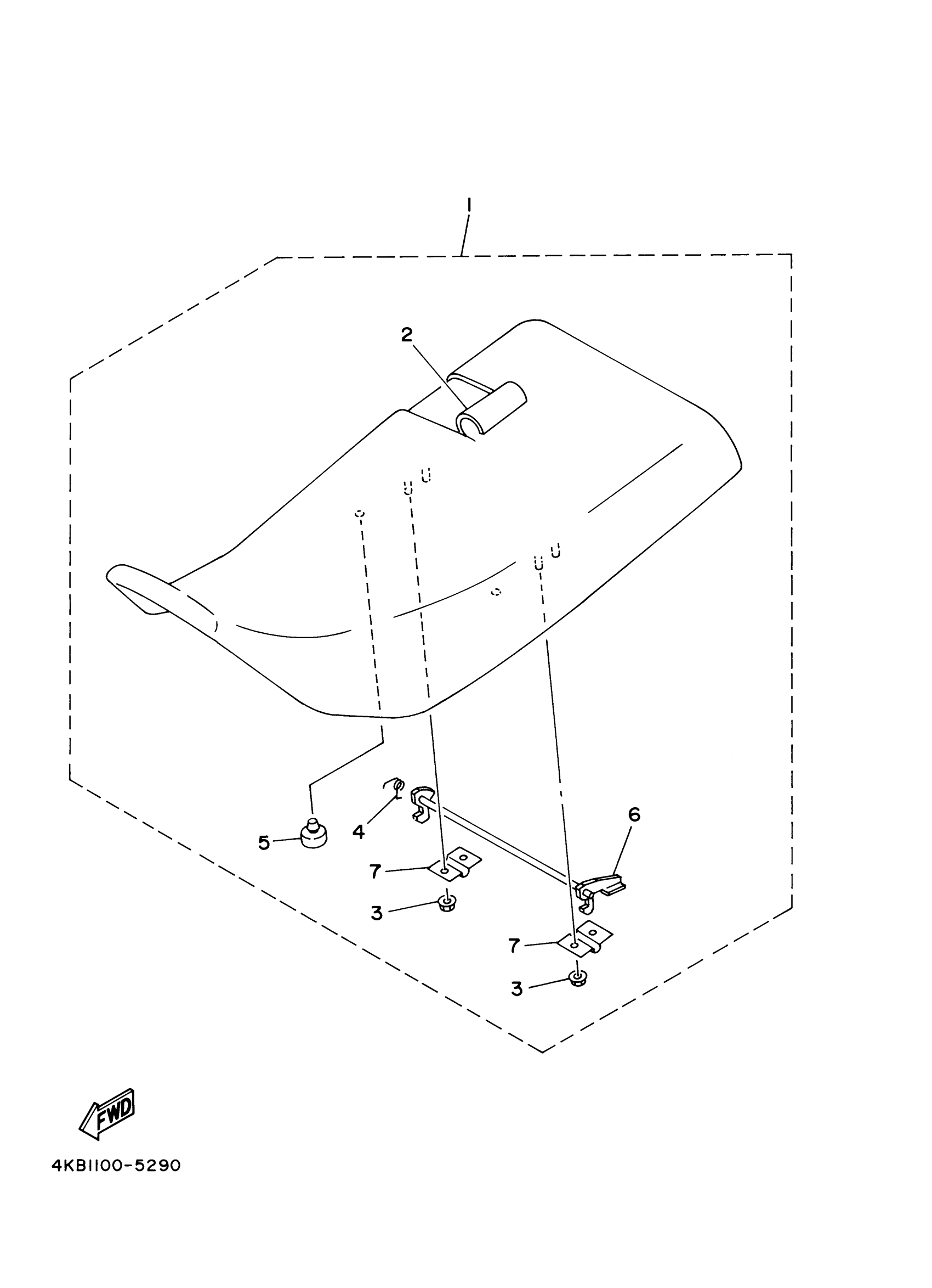
#

Description
Price

1

SINGLE SEAT ASSY (PASTEL DEEP GREEN)

4KB-24710-50-00

Unavailable

1

SINGLE SEAT ASSY (DEEP PURPLISH BLUE SOLID E)

4KB-24710-60-00

Unavailable

2

. COVER, SEAT (PASTEL DEEP GREEN)

4KB-24731-50-00

Unavailable

2

. COVER, SEAT (DEEP PURPLISH BLUE SOLID E)

4KB-24731-60-00

Unavailable

3

NUT, FLANGE(4MV)

95707-06500-00

$1.23

4

SPRING, TORSION (21V)

90508-23567-00

$8.49

5

STOPPER, MAIN STAND

371-27114-00-00

$7.99

6

. LEVER, SEAT

4KB-24776-00-00

Unavailable

7

. BRACKET, SEAT LEVER

59V-24775-00-00

Unavailable