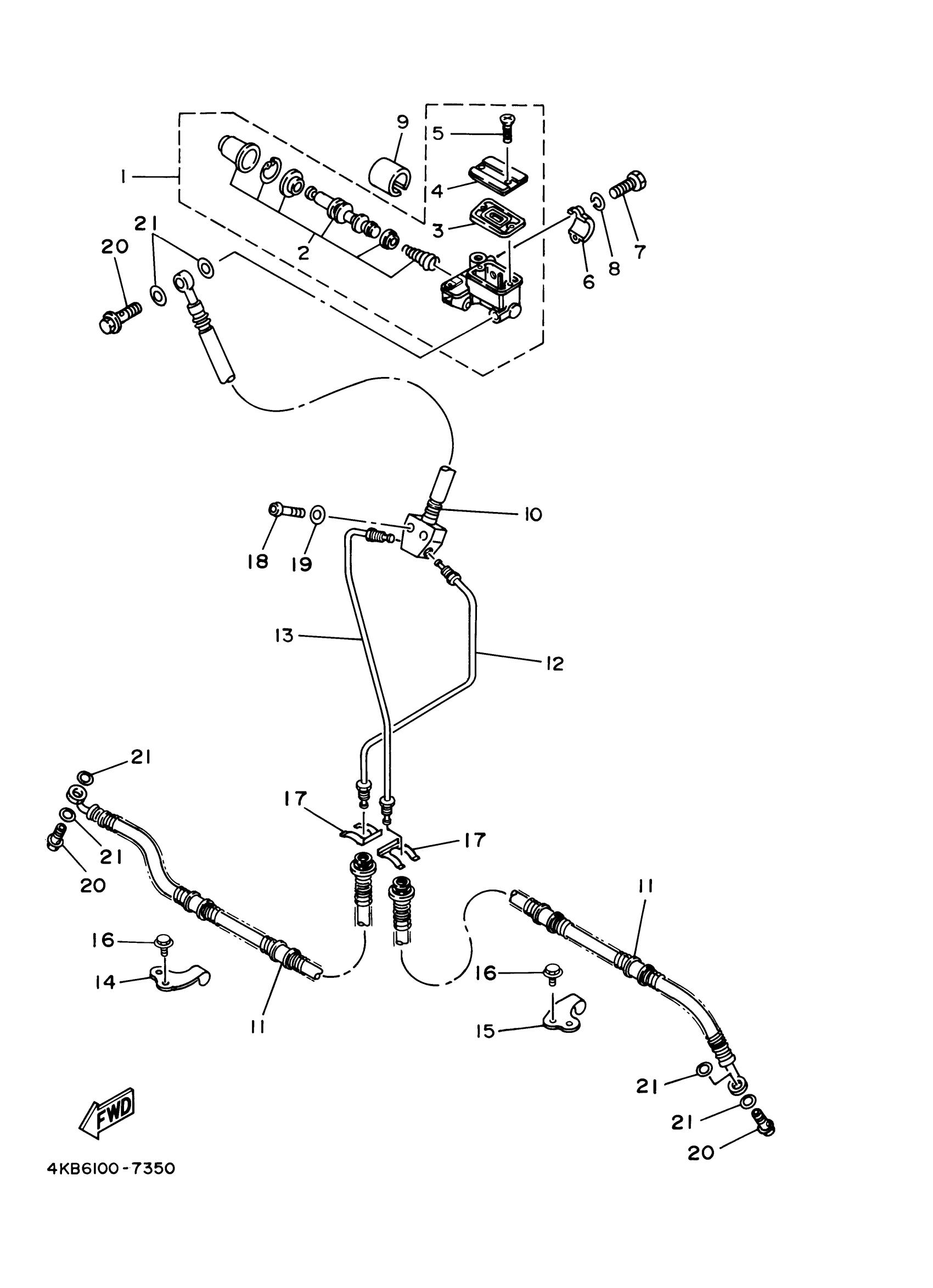
Yamaha YFM350FXMC (WOLVERINE) 4KBG2 2000 FRONT MASTER CYLINDER Diagram
#
Description
Price
2
CYLINDER KIT, MASTER
4H7-W0041-50-00
Unavailable
10
HOSE, BRAKE 1
4KB-25872-00-00
Unavailable
11
HOSE, BRAKE 2
4KB-25873-01-00
Unavailable
12
PIPE, BRAKE
4KB-25871-00-00
Unavailable
13
PIPE, BRAKE 2
4KB-25882-00-00
Unavailable
14
HOLDER, BRAKE HOSE 1
4GB-25875-00-00
Unavailable
15
HOLDER, BRAKE HOSE 2
4GB-25876-00-00
Unavailable
16
BOLT, FLANGE
95817-06012-00
Unavailable
17
CIRCLIP
2GU-25866-00-00
Unavailable
18
BOLT, HEXAGON
97017-08030-00
Unavailable
19
WASHER(6TA)
92907-08600-00
Unavailable
20
BOLT, UNION(3GM)
90401-10159-00
Unavailable
21
WASHER, PLATE(481)
90201-10118-00
Unavailable
