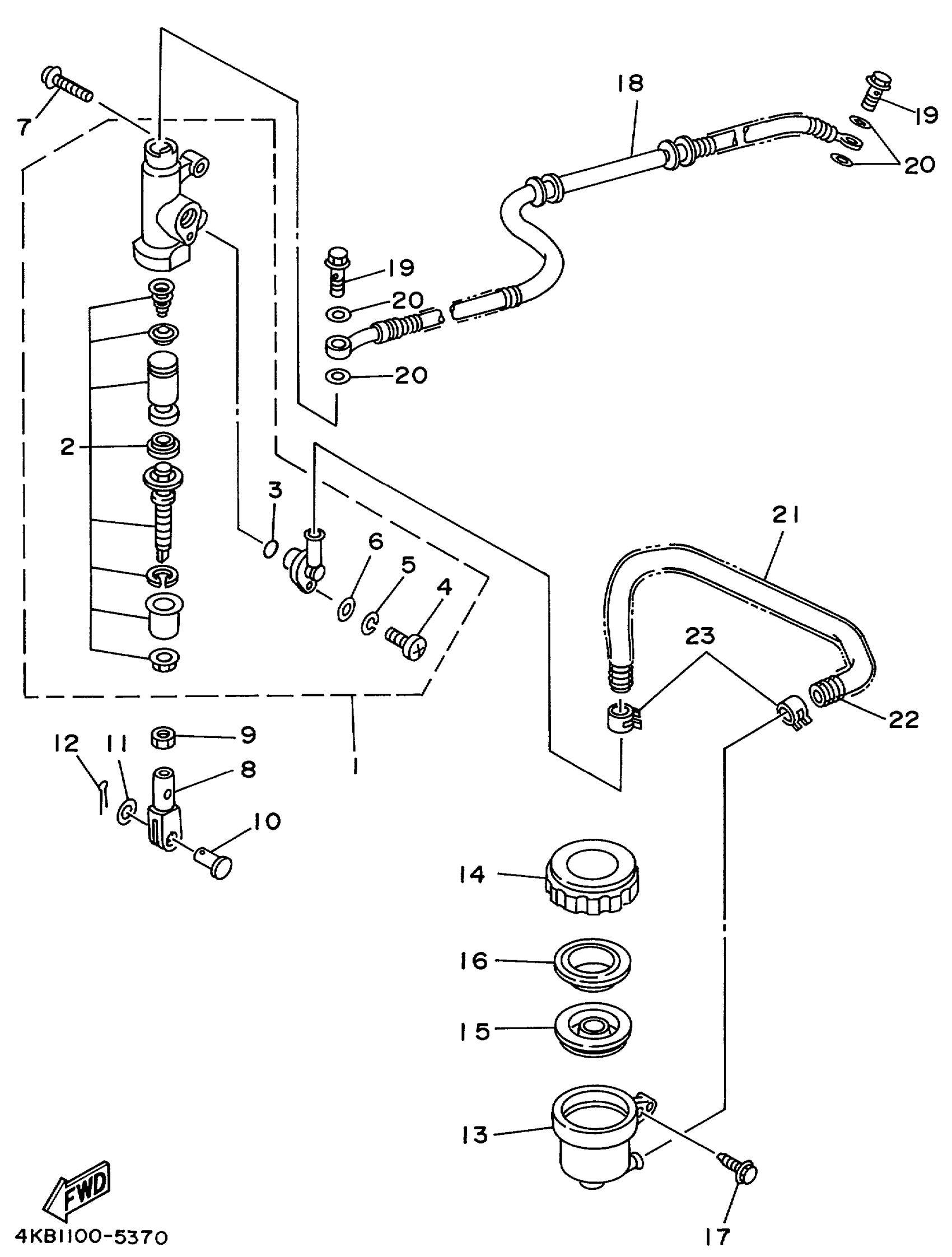
Yamaha YFM350FXLC (WOLVERINE 4WD) 4KBC 1999 REAR MASTER CYLINDER Diagram
#
Description
Price
1
MASTER CYLINDER ASSY
2NL-25850-50-00
Unavailable
4
SCREW, PAN HEAD
98511-04012-00
Unavailable
12
PIN, COTTER
91490-16020-00
Unavailable
13
TANK, RESERVOIR
47X-25894-00-00
Unavailable
16
BUSH,DIAPHRAGM
2GU-25855-00-00
Unavailable
17
BOLT, WITH WASHER
90119-06226-00
Unavailable
18
HOSE, BRAKE
4KB-25874-00-00
Unavailable
19
BOLT, UNION(3GM)
90401-10159-00
Unavailable
20
WASHER, PLATE(481)
90201-10118-00
Unavailable
21
HOSE, RESERVOIR
4KB-25895-00-00
Unavailable
22
SPRING, COMPRESSION
90501-102E8-00
Unavailable
23
CLIP (5K4)
90467-14057-00
Unavailable
