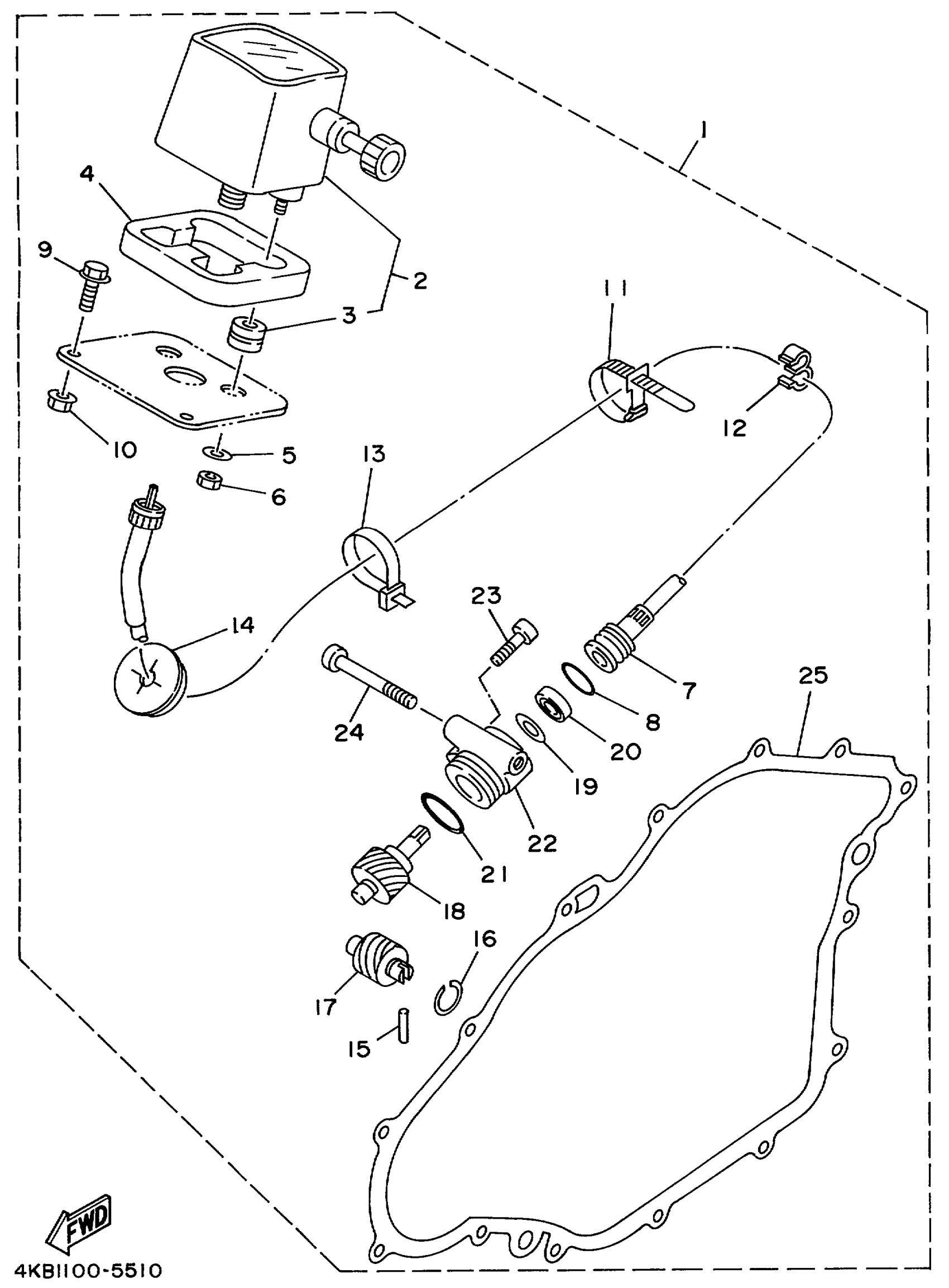
Yamaha YFM350FXLC (WOLVERINE 4WD) 4KBC 1999 ALTERNATE METER Diagram
#
Description
Price
1
SPEEDOMETER KIT
4KB-W0081-00-00
Unavailable
2
. SPEEDOMETER ASSY
4KB-83500-00-00
Unavailable
4
. DAMPER
3JN-83664-00-00
Unavailable
5
WASHER, PLATE (8J0)
90201-05725-00
Unavailable
7
SPEEDOMETER CABLE ASSY
4KB-83550-00-00
Unavailable
12
CLIP (867)
90468-15020-00
Unavailable
14
. GROMMET
90480-25461-00
Unavailable
15
PIN, DOWEL (5X4)
93603-14179-00
Unavailable
16
CIRCLIP(59V)
93440-14155-00
Unavailable
17
. GEAR, DRIVE
4KB-17831-00-00
Unavailable
18
. GEAR, DRIVEN
4KB-17841-00-00
Unavailable
19
WASHER (692)
90201-12M34-00
Unavailable
20
OIL SEAL (30X)
93102-08307-00
Unavailable
21
O-RING(59V)
93210-24253-00
Unavailable
22
HOUSING, TACHOMETER GEAR
4KB-17811-00-00
Unavailable
23
SCREW, PAN HEAD(3TJ)
98507-06016-00
Unavailable
24
SCREW, PAN
98517-06030-00
Unavailable
25
GASKET, CRANKCASE COVER 3
4KB-15462-00-00
Unavailable
