Yamaha YFM350FWJ (BIG BEAR 4WD) 3HNX 1997 CARBURETOR Diagram
#
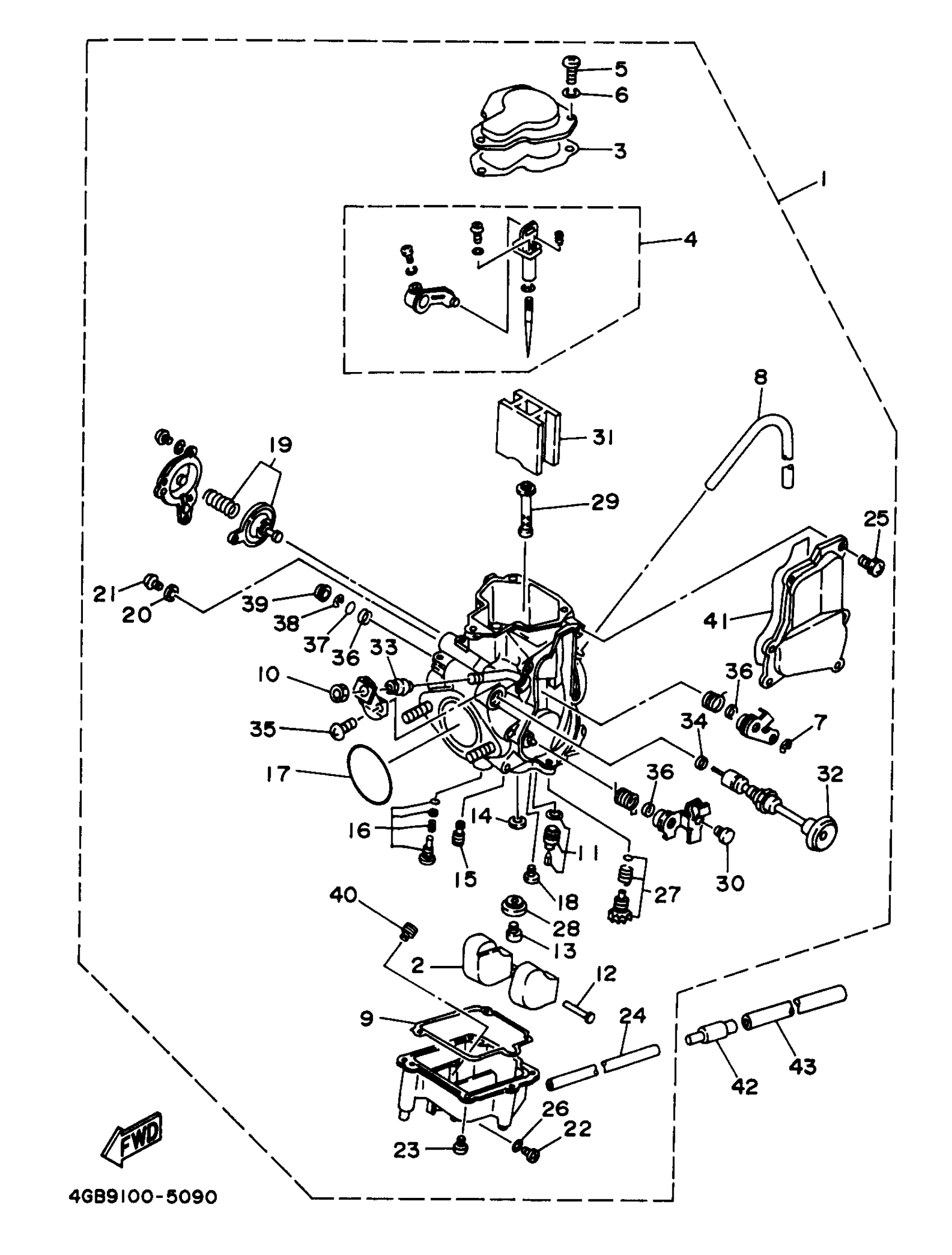
1
CARBURETOR ASSEMBLY 1
3HN-14101-00-00
Unavailable
4
NEEDLE SET
1YW-1490J-01-00
Unavailable
7
. CLIP
737-14137-00-00
Unavailable
15
JET, PILOT (# 45)
4G0-14142-45-00
Unavailable
16
PILOT SCREW SET
21V-14105-00-00
Unavailable
17
O-RING
1YW-14147-00-00
Unavailable
18
SCREW
1FN-14565-00-00
Unavailable
19
DIAPHRAGM SET, 5
3LD-1490H-00-00
Unavailable
20
. WASHER
59V-14962-00-00
Unavailable
21
SCREW, PAN HEAD(6A3)
97885-06008-00
Unavailable
22
SCREW
2L1-14191-00-00
Unavailable
23
SCREW, PAN HEAD
98517-04012-00
Unavailable
25
SCREW, PAN HEAD
98517-04012-00
Unavailable
26
O-RING
214-14147-00-00
Unavailable
27
THROTTLE SCREW SET
2VA-14103-00-00
Unavailable
28
WASHER, MAIN JET
5V7-14153-00-00
Unavailable
29
NOZZLE, MAIN
1YW-14141-28-00
Unavailable
30
GUIDE, CABLE
1UY-14155-00-00
Unavailable
31
VALVE, THROTTLE 1
1YW-14112-00-00
Unavailable
32
PLUNGER, STARTER
1UY-14993-00-00
Unavailable
33
COVER, PLUNGER CAP
22F-14173-00-00
Unavailable
34
SEAL
2A2-14997-00-00
Unavailable
36
SEAL
2A2-14997-00-00
Unavailable
37
GASKET
22F-14126-00-00
Unavailable
38
CLIP
812-14137-00-00
Unavailable
39
CAP
36X-14169-00-00
Unavailable
40
JET, MAIN (# 75)
1HX-14231-15-A0
Unavailable
41
O-RING
2HR-14147-00-00
Unavailable
42
PIPE 2,OVERFLOW
24W-14193-00-00
Unavailable
43
TUBE, FLEXIBLE(3NV)
91A21-07020-00
Unavailable
