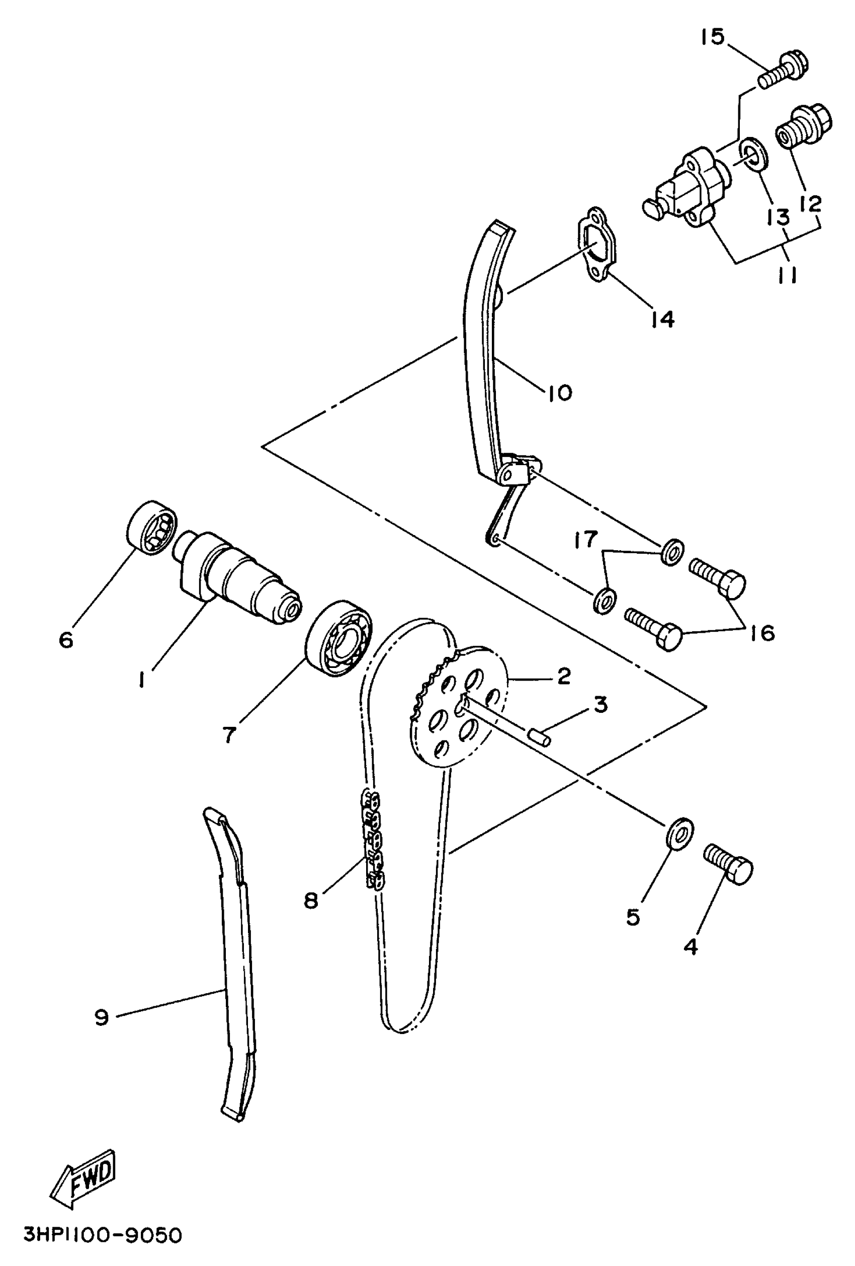
Yamaha YFM350FWH_MNH (BIG BEAR 4WD) 3HNR 1996 CAMSHAFT CHAIN Diagram
#
Description
Price
1
CAMSHAFT ASSEMBLY 1
1YW-12170-00-00
Unavailable
10
GUIDE, STOPPER 2
1UY-12241-01-00
Unavailable
16
BOLT, HEXAGON
97017-06016-00
Unavailable
17
WASHER(6TA)
92907-06600-00
Unavailable
