Partiron

Yamaha YFM350FWG_MNH (BIG BEAR 4WD) 3HNK 1995 CYLINDER Diagram

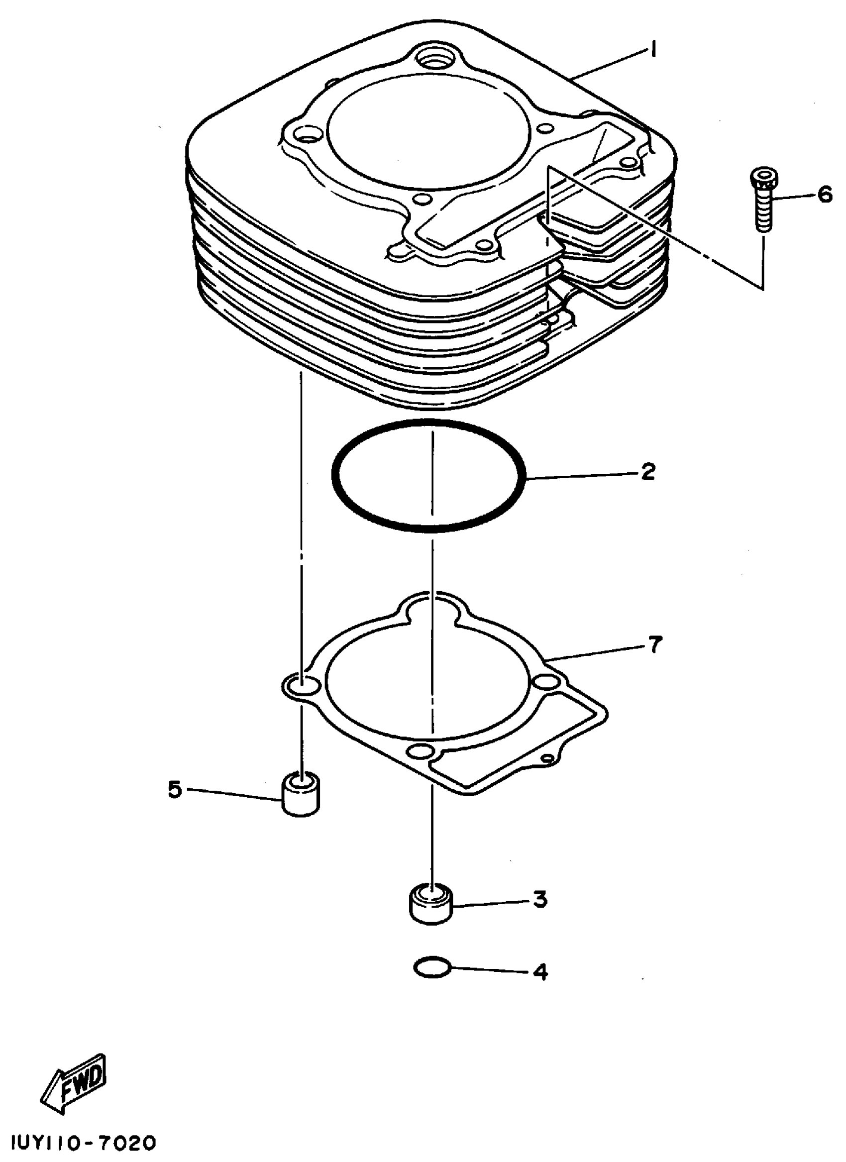
#

Description
Price

1

CYLINDER

1UY-11310-03-00

Unavailable

2

O-RING (11H)

93210-86509-00

$14.99

3

COLLAR (1L9)

90387-16547-00

$9.49

4

O-RING (1L9)

93210-18322-00

$5.60

5

PIN, DOWEL

99530-14016-00

$3.80

6

BOLT, HEXAGON SOCKET HEAD(1VJ)

90110-06138-00

$5.60

7

GASKET, CYLINDER

4KB-11351-00-00

$20.99