Partiron

Yamaha YFM350FWF (BIG BEAR 4WD) 3HNG 1994 TAILLIGHT Diagram

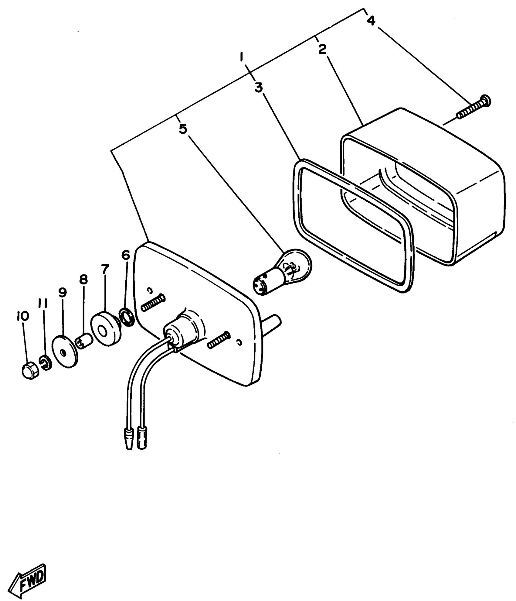
#

Description
Price

1

TAILLIGHT UNIT ASSY

52H-84710-00-00

Unavailable

2

LENS, TAILLIGHT

21V-84721-00-00

$33.99

3

GASKET, TAIL LENS

1K8-84523-00-00

Unavailable

4

YBS83-430 SCREW,PANH. TAPPING

97780-40130-00

$8.49

5

BULB (12V-7.5W)

3GD-84714-00-XX

Unavailable

6

WASHER, PLATE (462)

90202-14077-00

$4.29

7

GROMMET (462)

90480-14088-00

$5.60

8

SPACER

90560-07007-00

$9.49

9

WASHER PLATE 248217570000

90201-06074-00

$9.49

10

NUT (J17)

95380-06800-00

$8.49

11

WASHER, SPRING

92995-06100-00

Unavailable