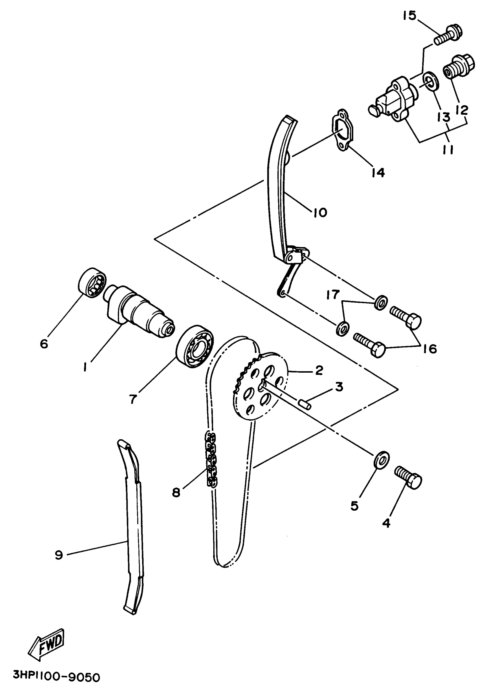
Yamaha YFM350FWF (BIG BEAR 4WD) 3HNG 1994 CAMSHAFT - CHAIN Diagram
#
Description
Price
1
CAMSHAFT ASSEMBLY 1
1YW-12170-00-00
Unavailable
10
GUIDE, STOPPER 2
1UY-12241-01-00
Unavailable
16
BOLT, HEXAGON DEEP RECESS
97D95-06016-00
Unavailable
17
WASHER, PLAIN (646)
92990-06600-00
Unavailable
